РЕМКОМПЛЕКТ
эксплуатация, техническое обслуживание, ремонт автомобиля Москвич 2140, 2140SL "Люкс"
Москвич 2140, 2140SL "Люкс"







Ремонт системы питания и выхлопа

Разборка и сборка бензинового насоса

Разборку бензинового насоса (рис. 49) производите в случае прекращения подачи бензина, из-за прорыва диафрагмы, потери герметичности, повреждений клапанов, ослабления или поломки рабочей пружины, износа или заедания приводного рычага.

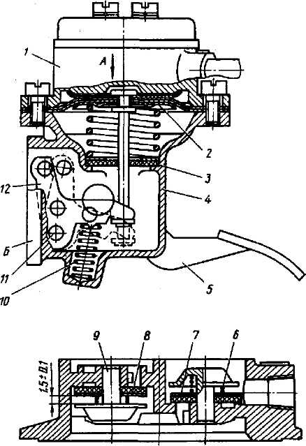
Рис. 49. Бензиновый насос и запрессовка клапанов в головку насоса: 1 - головка бензинового насоса в сборе; 2 - диафрагма бензинового насоса в сборе; 3 - уплотнитель тяги диафрагмы; 4 - корпус бензинового насоса в сборе; 5 - рычаг ручной подкачки; 6 - пружина клапана; 7 - пластина клапана; 8 - клапан бензинового насоса; 9 - обойма клапана; 10 - пружина рычага; 11 - ось рычага диафрагмы; 12 - рычаг диафрагмы; Б - фланец бензонасоса

Снятие и разборку бензинового насоса производите в следующем порядке:

- ослабьте хомутики и снимите бензиновые трубки;

- отверните специальные гайки крепления бензинового насоса к головке цилиндров и снимите насос;

- отверните два винта крепления крышки головки 1 (рис. 49) бензинового насоса и снимите ее;

- выверните шесть винтов и снимите головку бензинового насоса. Перед снятием головки бензинового насоса пометьте взаимное расположение головки 1 и корпуса 4 с тем, чтобы при последующей сборке сохранить прежнее положение по отношению к двигателю подводящей и отводящей бензотрубок;

- нажмите тарелку диафрагмы в направлении стрелки А и нагните ее в сторону фланца Б, выведите конец из зацепления с рычагом 12 и выньте диафрагму 2 из корпуса;

- проверьте, нет ли прорывов, трещин и других повреждений на листах диафрагмы.

При обнаружении дефектов замените диафрагму в сборе в следующем порядке:

- выпрессуйте оправкой ось 11 рычага и выньте рычаг, распорные шайбы и пружину 10 рычага из корпуса;

- осмотрите ось и рычаг. При наличии заметного износа замените детали;

- выпрессуйте из головки с помощью оправки клапаны 8 бензинового насоса;

- проверьте, нет ли повреждений на клапане, пластине 7 клапана и обойме 9 клапана, могущих нарушить работу клапана. При обнаружении каких-либо дефектов замените поврежденные детали;

- проверьте упругость пружины клапана 6 (усилие пружины, сжатой до высоты 5,5 мм, должно быть 0,234+0,04 H (23+4 гс);

- проверьте состояние уплотнителя 3 тяги диафрагмы и при необходимости замените уплотнитель.

После разборки насоса все детали промойте в бензине. Особенно тщательно промойте сетку и головку насоса, где скапливается отстой бензина.

Сборку насоса производите в следующем порядке:

- вставьте в гнездо корпуса пружину рычага привода насоса, сам рычаг, распорные шайбы и запрессуйте ось;

- соберите на стержнях обойм клапанов все детали и запрессуйте обоймы в тело головки корпуса, выдержав размер (1,5+0,1) мм (см. рис. 49.);

- вставьте диафрагму в сборе с тягой в корпус насоса и заведите конец тяги в вилку рычага;

- установите головку насоса на корпус, совместив сделанные при разборке метки, и наверните все шесть винтов на одну-две нитки резьбы;

- нажмите большим пальцем правой руки на рычаг привода с тем, чтобы опустить диафрагму в крайнее нижнее положение. Заверните два противоположных винта до отказа и опустите рычаг привода. Равномерно (крест-накрест) затяните все остальные винты;

- установите сетчатый фильтр на головку насоса и приверните двумя винтами крышку головки. При необходимости замените резиновую прокладку головки.

Проверка работы бензинового насоса

Один из способов проверки исправности работы бензинового насоса является следующий.

К приемному штуцеру головки насоса подсоедините трубку (внутренний диаметр 4 мм), второй

конец которой погрузите в сосуд с бензином. Затем вручную, нажимая на рычаг, приведите в действие диафрагму. При таком испытании подача бензина на высоту 850 мм должна начаться не позже, чем после двадцати полных качаний рычага привода насоса.

Перед установкой на двигатель отремонтированного и испытанного насоса проверьте состояние картонных прокладок под фланцем корпуса насоса и под теплоизоляционной прокладкой. Поврежденные прокладки замените. Окончательную затяжку гаек на шпильках крепления корпуса насоса к головке цилиндров делайте на двигателе, прогретом до нормальной эксплуатационной температуры.

В первое время эксплуатации двигателя с отремонтированным бензиновым насосом периодически подтягивайте (крест-накрест) винты крепления головки насоса к его корпусу.