РЕМКОМПЛЕКТ
эксплуатация, техническое обслуживание, ремонт автомобиля ВАЗ 1111
ВАЗ 1111







Двери

Снятие и установка передней двери

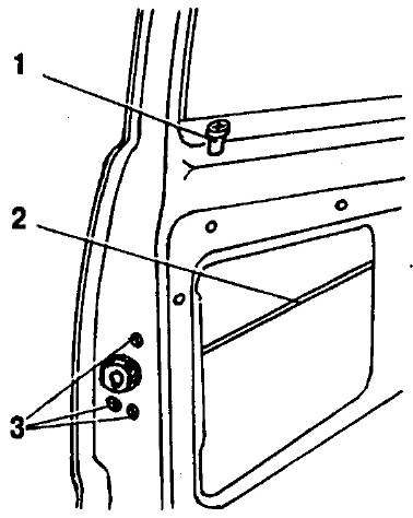
Для снятия передней двери выверните винты крепления проушины ограничителя 3 (рис. 8-8) к передней стойке кузова, специальные болты 2 крепления петель 1 и с помощью помощника снимите дверь.

Рис. 8-8. Крепление передней двери: 1 - петли двери; 2 - болты крепления; 3 - ограничитель открывания двери

Установку двери выполняйте в обратном порядке. За счет увеличенных отверстий в неподвижных звеньях петель под болты 2 имеется возможность в небольших пределах регулировать зазоры между дверью и кузовом.

ПРЕДУПРЕЖДЕНИЕ

Запрещается заменять специальные болты 2 стандартными.

Рис. 8-9. Внутренний вид передней двери: 1 - ограничитель открывания двери; 2 - внутренняя ручка двери; 3 - ручка стеклоподъёмника; 4 - винты крепления подлокотника; 5 - карман обивки двери; 6 - обивка двери; 7 - кнопка блокировки замка

Разборка и сборка передней двери

Отожмите розетку и сдвиньте до полного выхода облицовку ручки 3 (рис. 8-9) стеклоподъемника. Снимите ручку и облицовку.

Выверните винты 4 крепления ручки подлокотника. При помощи отвертки снимите облицовку внутренней ручки 2 двери. Выверните кнопку 7 блокировки замка.

Преодолевая сопротивление пружинных пластмассовых держателей, снимите обивку 6 двери.

Опустите стекло до отказа вниз и снимите с двери нижние уплотнители опускного стекла. Через отверстия внутренней панели двери удалите защитные пластины.

Выверните винты крепления и опустите вниз направляющие желобки опускного стекла. Затем выверните винты крепления опускного стекла и выньте его через верх.

Отверните гайки крепления стеклоподъемника (рис. 8-10) и удалите стеклоподъемник.

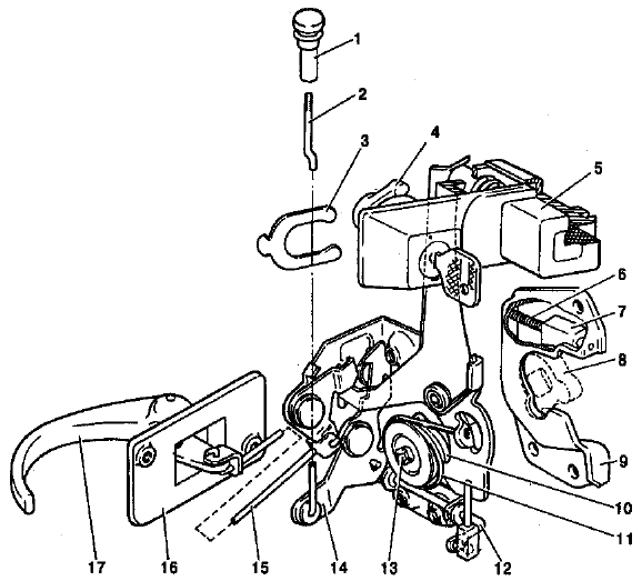
Выверните винты крепления кронштейна 16 (рис. 8-11) внутренней ручки 17 двери.

Выньте скобу 3 крепления наружного привода замка и снимите наружный привод.

Выверните винты 3 (рис. 8-12), отсоедините тягу выключателя замка и снимите замок в сборе с внутренней ручкой двери и тягой привода.

Рис. 8-10. Стеклоподъёмник передней двери: 1 - шпильки крепления; 2 - ручка стеклоподъёмника; 3 - механизм стеклоподъёмника; 4 - оболочка с тросом; 5 - верхний ролик; 6 - пластина крепления опускного стекла; 7 - трос; 8 - нижний ролик

Рис. 8-11. Замок передней двери: 1 - кнопка блокировки замка; 2 - тяга кнопки блокировки; 3 - скоба крепления наружного привода замка; 4 - поводок выключателя замка; 5 - кнопка наружного привода замка; 6 - пружина сухаря; 7 - сухарь фиксатора; 8 - ротор; 9 - корпус фиксатора замка; 10 - храповик; 11 - пружина храповика; 12 - валик выключения замка; 13 - центральный валик; 14 - рычаг блокировки замка; 15 - тяга внутреннего привода; 16 - кронштейн; 17 - внутренняя ручка двери

Рис. 8-12. Крепление замка двери: 1 - кнопка блокировки замка; 2 - тяга внутреннего привода; 3 - винты крепления замка

При необходимости выверните винты крепления и снимите ограничитель открывания двери.

Сборку двери выполняйте в обратном порядке. Перед установкой обивки двери проверьте состояние держателей. Поврежденные держатели замените новыми.

Регулировка замка передней двери

Перед регулировкой замка рекомендуется очертить контуры корпуса 9 (см. рис. 8-11) фиксатора замка на стойке кузова.

Если дверь закрывается слишком туго, ослабьте винты крепления фиксатора, сместите его наружу и затяните винты. Если дверь закрывается неплотно - фиксатор сместите внутрь. При этом не должно быть западания или выступания двери относительно кузова.

Если дверь при закрывании приподнимается (провисание в открытом положении), фиксатор опустите. Если замок плохо открывается внутренней ручкой, то отрегулируйте положение внутренней ручки привода замка. Для этого ослабьте винты, крепящие кронштейн ручки, а ее вместе с кронштейном передвиньте в нужное положение. Смажьте моторным маслом все трущиеся элементы. Затем затяните винты крепления.

Снятие и установка задней двери

Для снятия двери сначала отсоедините электрические провода и трубку омывателя, затем, открыв дверь, выверните пальцы упоров 2 (рис. 8-13) из резьбовых отверстий и снимите упоры. При этом необходим помощник для поддерживания двери.

Снимите верхнюю часть уплотнителя проема, а также скобы крепления полихлорвиниловой обивки крыши и задний край обивки с фланца проема двери задка.

Рис. 8-13. Задняя дверь: 1 - стопорная шайба; 2 - газонаполнительный упор двери; 3 - панели двери; 4 - уплотнитель проема двери; 5 - болт крепления; 6 - петля; 7 - буфер; 8 - регулируемый буфер; 9 - замок; 10 - защитный экран замка; 11 - фиксатор замка; 12 - регулировочная прокладка

Придерживая дверь, выверните болты крепления подвижных звеньев петель 6 к кузову и снимите дверь в сборе.

При цельноформованной обивке крыши для доступа к болтам крепления петель 6 в ней имеются отверстия, закрытые заглушками, поэтому снятие обивки крыши и уплотнителя проема двери не требуется.

Если возникла необходимость, то снимите замок (рис.8-14) и стеклоочиститель.

Рис. 8-14. Замок задка двери: 1 - поперечина задка; 2 - регулировочный прокладки; 3 - фиксатор; 4 - пружина крючка; 5 - крючок; 6 - корпус замка; 7 - дверь задка; 8 - уплотнитель проема двери задка

Установку двери выполняйте в обратном порядке.

При необходимости регулировки положения двери в проеме кузова ослабьте болты крепления неподвижных петель и за счет увеличенных отверстий в кузове (или установкой регулировочных прокладок под неподвижные звенья петель) отрегулируйте зазоры по периметру двери. По окончании регулировки заверните болты.

Задняя дверь должна запираться и отпираться легко, без значительного усилия. В противном случае требуется регулировка взаимного положения замка и его фиксатора. Для регулировки предусмотрены увеличенные отверстия в корпусах замка и фиксатора 3 (см. рис. 8-14).

Регулировку выполняйте при открытой двери в следующем порядке:

- очертите контуры корпуса замка и фиксатора и ослабьте крепления;

- сместите замок и фиксатор в новое положение;

- слегка затяните болты и гайки крепления замка и фиксатора, после чего проверьте работу замка. При нормальной работе окончательно закрепите замок и фиксатор.