РЕМКОМПЛЕКТ
эксплуатация, техническое обслуживание, ремонт автомобиля ВАЗ 2115, ВАЗ 2115-01, ВАЗ 2115-20, ВАЗ 2114, ВАЗ 2114-20
ВАЗ 2115







Двери

Снятие и установка передней двери

Для снятия передней двери выверните винты крепления проушины ограничителя 7 (рис. 8-13) к передней стойке кузова и болты 6 крепления петель и снимите дверь. При этом помощник должен поддерживать дверь.

Рис. 8-13. Внутренний вид передней двери: 1 - кнопка выключения замка; 2 - обивка двери; 3 - ручка подлокотника; 4 - внутренняя ручка двери; 5 - наружное зеркало заднего вида; 6 - болты крепления двери; 7 - ограничитель открывания двери; 8 - выключатель электростеклоподъемника; 9 - карман обивки двери; 10 - катафот; 11 - наружный замок двери

Установку двери выполняйте в обратном порядке. Перед окончательным затягиванием болтов отрегулируйте зазоры между дверью и кузовом.

Разборка и сборка передней двери

Рис. 8-14. Стеклоподъемник передней двери: 1 - ручка стеклоподъемника; 2 - облицовка; 3 - розетка; 4 - прокладка; 5 - механизм стеклоподъемника; 6 - оболочка троса; 7 - ролик; 8 - стекло; 9 - уплотнитель; 10 - уплотнитель наружный; 11 - уплотнитель внутренний; 12 - обойма; 13 - пластина крепления опускного стекла; 14 - трос

Отожмите розетку 3 и сдвиньте до полного выхода облицовку 2 ручки 1 (рис. 8-14) стеклоподъемника. Снимите ручку и облицовку.

Вывернув винты, снимите ручку подлокотника 3 (рис. 8-13) и карман обивки двери. При помощи отвертки снимите облицовку внутренней ручки 4 двери. Выверните кнопку 1 выключения замка.

Снимите ручку регулирования наружного зеркала 5 заднего вида, внутреннюю облицовку и, вывернув винты крепления, снимите зеркало.

Преодолевая сопротивление пружинных пластмассовых держателей, снимите обивку 2 двери. Снимите с двери уплотнители опускного стекла. Через отверстия внутренней панели двери удалите защитные пластины.

Выверните винты крепления и снимите вниз направляющие желобки опускного стекла, затем отсоедините обойму 12 (рис. 8-14) стекла от пластины 13, отверните гайки крепления стеклоподъемника, снимите его и выньте через верх опускное стекло.

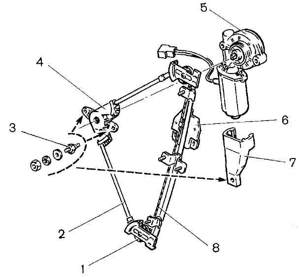
Часть автомобилей комплектуется стеклоподъемниками с электроприводом (рис. 8-15).

Рис. 8-15. Стеклоподъемник с электроприводом: 1 - ролик; 2 - оболочка троса; 3 - опора стеклоподъемника; 4 - механизм стеклоподъемника; 5 - моторедуктор; 6 - пластина крепления опускного стекла; 7 - кронштейн крепления моторедуктора; 8 - трос

Подъем стекла осуществляется путем передачи крутящего момента от моторедуктора 5 механизму 4 стеклоподъемника и далее вертикальным перемещением троса 8 с закрепленной на нем пластиной 6 крепления опускного стекла.

Перед разборкой двери и последующим снятием стеклоподъемника необходимо отсоединить переключатель 8 (рис. 8-13) от разъема моторедуктора 5 (рис. 8-15). Снимите стеклоподъемник, выкрутите опоры 3 и отсоедините моторедуктор.

Отсоедините от замка тяги 4 (рис. 8-16), 7 и 13 наружной 9 и внутренней 11 ручек двери. Отверните две гайки крепления и снимите наружную ручку двери.

Рис. 8-16. Замок передней правой двери: 1 - поводок клавиши; 2 - поводок выключателя замка; 3 - тяга выключения; 4 - тяга наружного привода; 5 - клавиша; 6 - кнопка выключения замка; 7 - тяга кнопки выключения; 8 и 17 - рычаги выключения; 9 - наружная ручка двери; 10 - кронштейн внутренней ручки; 11 - внутренняя ручка двери; 12 - облицовка внутренней ручки; 13 - тяга внутреннего привода; 14 - корпус внутреннего замка; 15 - рычаг наружного привода; 16 - промежуточный рычаг; 18 - корпус наружного замка; 19 - палец привода замка; 20 - собачка; 21 - фиксатор замка; 22 - храповик; 23 - винт крепления замка

Рис. 8-17. Крепление замков и ручек передней двери: 1 - внутренняя ручка двери; 2 - передняя дверь; 3 - тяга внутреннего привода; 4 - кнопка; 5 - наружная ручка двери; 6 - клавиша ручки; 7 - личинка замка; 8 - уплотнитель ручки; 9 - тяга кнопки; 10 - тяга наружного привода; 11 - поводок выключателя замка; 12 - тяга поводка выключателя замка; 13 - палец фиксатора замка; 14 - корпус фиксатора замка; 15 - замок наружный; 16 - замок внутренний; 17 - тяга моторедуктора; 18 - моторедуктор блокировки замка двери

В случае комплектации автомобиля электроблокировкой замков дверей (рис. 8-17), после снятия обивки двери отсоедините разъем моторедуктора 18 и тягу 17.

Выверните винты и снимите замок 18 (рис. 8-16). Выньте внутреннюю ручку двери в сборе с кронштейном 10, вывернув предварительно винты крепления.

При необходимости выверните винты крепления и снимите ограничитель открывания двери.

Сборку двери выполните в обратном порядке. Для надежного крепления резьбу винтов замка и фиксатора смажьте герметиком типа УГ-9. Перед установкой обивки двери проверьте состояние держателей.

Разборку и сборку задней двери производить аналогично передней (см. рис. 8-18).

Рис. 8-18. Крепление замков и ручек задней двери: 1 - рычаг; 2 - тяга кнопки; 3 - кнопка; 4 - тяга привода замка; 5 - тяга внутреннего привода; 6 - панель двери; 7 - клавиша ручки; 8 - корпус ручки двери; 9 - поводок клавиши; 10 - уплотнитель ручки; 11 - тяга; 12 - замок наружный; 13 - палец фиксатора замка; 14 - корпус фиксатора замка; 15 - замок внутренний; 16 - тяга моторедуктора; 17 - моторедуктор блокировки замка двери; 18 - ручка двери внутренняя

Регулировка замка передней двери

Перед регулировкой замка рекомендуется очертить контуры фиксатора 14 (см. рис. 8-17) на стойке кузова.

Если дверь закрывается слишком туго, ослабьте винты крепления фиксатора, сместите его наружу и затяните винты. Если дверь закрывается неплотно, фиксатор сместите внутрь. При этом не должно быть западания или выступания двери относительно кузова.

Если дверь при закрывании приподнимается (провисание в открытом положении), фиксатор опустите.