РЕМКОМПЛЕКТ
эксплуатация, техническое обслуживание, ремонт автомобиля Москвич 2141, 2335
Москвич 2141, 2335







Головка блока цилиндров и клапанный механизм. Распределительный вал и его привод

Снятие головки блока цилиндров без снятия двигателя с автомобиля производить в тех случаях, если требуется устранить неисправность только в головке блока цилиндров.

Снятие головки блока цилиндров с двигателей УЗАМ:

- снять пробку с расширительного бачка;

- подставить под двигатель емкость и слить охлаждающую жидкость, для чего необходимо ослабить хомут крепления подводящего шланга отопителя на угольнике отбора жидкости из блока цилиндров и снять шланг с угольника;

- ослабить хомуты крепления рукавов на выпускном патрубке и снять рукава с патрубка;

- снять соединительный шланг системы вентиляции картера со штуцером карбюратора;

- снять со штуцера подводящего фланца карбюратора шланг вентиляции картера;

- отвернуть четыре гайки крепления подводящего фланца к карбюратору и снять со шпилек карбюратора фланец и прокладку фланца;

- отсоединить от карбюратора тросы привода дроссельной и воздушной заслонок;

- ослабить хомут и снять со штуцера карбюратора шланг подвода топлива;

- снять со штуцера карбюратора трубку управления вакуумным регулятором опережения зажигания;

- снять со штуцера ЭПХХ карбюратора трубку управления ЭПХХ;

- отсоединить от карбюратора провода датчика положения дроссельной заслонки;

- снять карбюратор, отвернув гайки его крепления;

- ослабить хомуты и снять со штуцеров, расположенных на впускной трубе, шланги отвода охлаждающей жидкости и усилителя тормозов;

- отсоединить приемную трубу глушителя, отвернув гайки ее крепления.

- отвернуть болты крепления верхней крышки распределительных звездочек и снять крышку;

- расконтрить и отвернуть болты крепления ведомой звездочки привода распределительного вала и снять ее, не разъединяя с цепью. Для облегчения сборки, во избежание соскакивания цепи с зубьев звездочки, связать цепь со звездочкой проволокой;

- отвернуть гайки крепления головки цилиндров и снять головку в сборе со впускной трубой, выпускным коллектором, распределительным валом с клапанами.

Дальнейшую разборку удобнее производить на снятой с автомобиля головке блока цилиндров.

Разборка головки блока цилиндров

Разборку головки блока следует производить в следующем порядке:

- установить головку блока цилиндров на стол для разборки;

- отсоединить выпускной коллектор и впускную трубу с карбюратором (одновременно отсоединяется заборник теплого воздуха);

- снять топливный насос;

- закрепить головку в тисках;

- отвернуть винты крепления упорного фланца распределительного вала и снять фланец;

- расконтрив и вывернув регулировочные винты коромысел до положения, когда сферические концы вошли в резьбовые отверстия, снять наконечники стержней клапанов;

- пометить все коромысла и распорные втулки для того, чтобы при сборке установить их на прежнее место;

- ударом молотка по оправке, изготовленной из бронзы или дюралюминия, выбить оси коромысел из отверстий в головке и снять коромысла, пружины осей и распорные втулки;

- вынуть распределительный вал из корпуса подшипников;

- пометить каждый клапан порядковым номером цилиндра, чтобы сохранить порядок расположения клапанов;

- используя съемник 9680-2449 (рис. 2-94), снять клапаны, для чего сделать следующее:

а) сжать пружины и снять сухари со стержня клапана. Затем, ослабляя нажим, освободить пружины клапана;

б) снять съемник и пружину вместе с тарелкой клапана и защитным колпаком, а затем вынуть клапаны из направляющей втулки;

в) снять тем же способом все остальные клапаны.

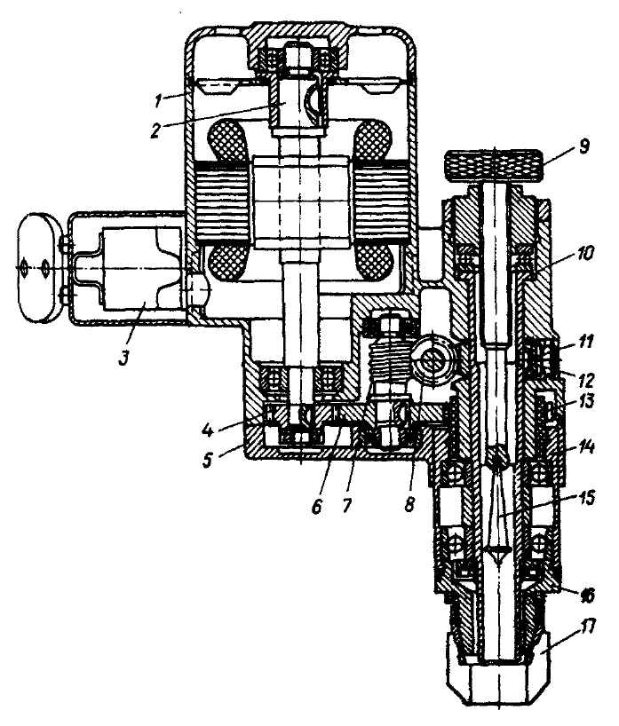
Рис. 2-94. Съемник клапанов 9680-2449: 1 - рычаг; 2 - кулачок; 3 - планка; 4 - кронштейн рычага; 5 - направляющий цилиндр; 6 - пружина; 7 - шток; 8 - скоба; 9 - упор; I, II - положения рычага

Сборку головки цилиндров производить в обратном порядке. При этом проверить состояние и величину износа стержней клапанов и их направляющих втулок, рабочих фасок, седел и клапанных пружин. При каждой сборке головки цилиндров с клапанами после ремонта или после притирки клапанов уплотнительные шайбы тарелки пружин клапана обязательно заменять новыми, независимо от состояния.

При износе стержней клапанов заменить клапаны новыми.

При установке в головку стержни клапанов обязательно смазать графитной смазкой.

Перед установкой осей коромысел проверить степень износа рабочих поверхностей коромысел и их осей и при необходимости заменить изношенные детали; установку коромысел и распорных втулок производить согласно меткам, сделанным при разборке, а осей коромысел в соответствии с выбитыми метками "ВП" и "ВЫП" (рис. 2-95). Перед установкой коромысел на оси поверхности отверстий в коромыслах смазать графитной смазкой.

Рис. 2-95. Расположение деталей привода клапанов на головке цилиндров

Рис. 2-96. Машинка для шлифования фаски в седле клапана: 1 - корпус; 2 - вал якоря; 3 - выключатель; 4 - ведущая шестерня; 5 - крышка корпуса; 6 - промежуточная шестерня; 7, 8 - червяки; 9 - винт подачи; 10 - шпиндель; 11 - червячная шестерня; 12 - шпонка; 13 - шестерня; 14 - обойма; 15 - маятник; 16 - наконечник; 17 - абразивный круг

Рис. 2-97. Приспособление для проверки биения фаски на седле клапана: 1 - наконечник; 2 - отверстие для наконечника; 3 - муфта; 4 - держатель; 5 - оправка; 6 - индикатор

Проверка и шлифование седел клапанов

Шлифование рабочих фасок седел клапанов производить обязательно при замене направляющих втулок клапанов, а также при большом износе и биении фасок седел относительно оси отверстий направляющих втулок.

Для шлифования применять специальную шлифовальную машинку с электрическим приводом (рис. 2-96). Машинка для шлифования должна быть снабжена набором абразивных кругов с конусами 60, 90 и 120°, набором специальных оправок, вставляемых в отверстия направляющих втулок, и приспособлениями для правки абразивных кругов и для проверки биения фаски. Перед тем как приступить к шлифованию фаски, необходимо подобрать оправку для отверстия в направляющей втулке, плотно входящую в неё. Подача абразивного инструмента производится вручную, а шлифование ведется до тех пор, пока абразивный круг не начнет снимать металл седла равномерно по всей окружности фаски. Проверку биения фаски по отношению оси отверстия направляющей втулки производить на приспособлении, показанном на рис. 2-97. Приспособление ставится на ту же оправку, на которой производилось шлифование фаски. Само приспособление состоит из муфты 3, вращающейся на оправке 5, держателя 4 индикатора 6, плотно закрепленного на оправке. Муфта 3 имеет на верхней части коническую поверхность, по которой скользит ножка стержня индикатора, а на нижней конической поверхности муфты в отверстие 2 вставлен специальный наконечник 1. При проворачивании рукой муфты 3 наконечник 1 перемещается по поверхности рабочей фаски седла и при наличии биения вызывает осевое перемещение муфты, которое передается на шкалу индикатора. Величина биения для фасок седел впускных в выпускных клапанов не должна превышать 0,05 мм. Для замера биения фасок седел впускных и выпускных клапанов требуется муфта с различным расположением наконечников, так как диаметры головок клапанов и фаски различны по размерам. Размеры фасок седел клапанов показаны на рис. 2-98.

Рис. 2-98. Размер фасок для дополнительного шлифования седла клапана

Далее следует проверить ширину и месторасположение на фаске поверхности соприкосновения головки клапана с седлом.

Эту проверку делать следующим образом:

- нанести на седло клапана тонкий слой краски;

- вставить в направляющую втулку соответствующий клапан. Затем клапан провернуть, прижимая его седлу.

Считают, что клапан хорошо прилегает к седлу, если образовавшийся на головке клапана поясок краски располагается в средней части фаски, а ширина пояска находится в пределах 1,2-1,5 мм как для впускного, так и выпускного клапана.

Если указанное требование не выполнено, седло клапана следует дополнительно прошлифовать. При этом абразивный круг в зависимости от того, куда требуется сместить рабочую фаску седла клапана, должен иметь конус 60° или 120°.

Клапаны

Удалить нагар с клапанов. Проверить, не слишком ли изношена рабочая фаска. При обнаружении на фаске трещины или коробления самой головки клапана последний подлежит замене.

Шлифование рабочей фаски производится, когда на поверхности ее имеются следа прогара, раковины и другие повреждения. Для шлифования рабочих фасок клапанов применяется специальный станок.

При шлифовании следует снимать минимальный слой металла, чтобы вывести черноту, раковины и биение, имеющиеся на рабочей фаске клапана. При шлифовании следить, чтобы фаска не выходила на острие и всегда оставался цилиндрический поясок не менее 0,5 мм. Проверку биения рабочей фаски относительно поверхности стержня клапана производить на приспособлении (рис. 2-99).

Рис. 2-99. Приспособление для проверки биения рабочей фаски и стержня клапана: 1 - плита; 2 - призма; 3 - держатель; 4 - шарик; 5 - стойка; 6 и 7 - индикаторы

При проверке биения клапан укладывается на призму 2, закрепленную на плите 1 так, чтобы торец его упирался в шарик 4, завальцованный в стойку 5. Затем два индикатора 6 и 7, закрепленные в держателях 3, подводятся наконечниками к фаске клапана и его стержню. При проворачивании клапана один индикатор покажет биение рабочей фаски, а другой - биение стержня. Допустимое биение фаски и стержня не более 0,02 мм.

Направляющие втулки клапанов

Если износ направляющих втулок превышает допустимую величину, указанную в табл. 2-7, то следует произвести замену втулок.

Замену направляющей втулки клапана следует производить в следующем порядке:

- выпрессовать изношенную направляющую втулку клапана из головки цилиндров с помощью оправки (рис. 2-100);

Рис. 2-100. Оправка для выпрессовки и запрессовки направляющей втулки клапана двигателя

- установить головку цилиндров на сверлильный станок, имеющий наклонный стол. Наклоном стола (угол 26°+5') установить головку так, чтобы шпиндель станка был на оси отверстия направляющей втулки в головке. Затем в головке цилиндров, из которой выпрессована втулка, развернуть отверстие до диаметра 15,12-15,142 мм;

- запрессовать в развернутое отверстие в головке цилиндров ремонтную втулку, имеющую увеличенный на 0,15 мм наружный диаметр (15,172-15,184 мм). Запрессовку следует производить оправкой, с помощью которой производилась выпрессовка. Перед запрессовкой направляющие втулки, изготовленные из металлокерамики, предварительно пропитать в моторном масле в течение не менее 1,5 ч. При запрессовке выдержать размер, указанный на рис. 2-101;

Рис. 2-101. Положение направляющих втулок клапана после их запрессовки в головку цилиндров двигателей УЗАМ

- развернуть отверстие в запрессованной втулке до диаметра 8,008-8,026 мм. При этом овальность и конусность не должны быть более 0,006 мм. После развертывания отверстия проверить прямолинейность втулки оправкой диаметром 7,995 мм, которая должна свободно проходить на всю длину втулки.

Коромысла клапанов и их оси

Тщательно промыть коромысла и их оси в бензине и протереть чистой тряпкой.

Коромысло проверить по внутреннему диаметру отверстия и по величине ступеньки на цилиндрической поверхности опорной пяты. Ось коромысла проверить по наружному диаметру. Допустимые величины износа диаметра отверстия в коромысле и наружного диаметра оси приведены в табл. 2-7. На цилиндрической поверхности опорной пяты коромысла допускается износ не более 0,05 мм (глубина канавки в средней части). Оси коромысел, имеющие износы более допустимых, заменить новыми.

Пружины

Убедиться, нет ли на пружинах трещин и не снизилась ли их упругость, для чего проверить деформацию пружин под нагрузкой.

Для новых пружин усилие должно быть:

- 398-464 Н (40,7-47,3 кгс) - для большой пружины при длине 27,5 мм и 160-185 Н (16,3-18,9 кгс) при длине 36,5 мм;

- 242-280 Н (24,6-28,6 кгс) для малой пружины при длине 25,5 мм и 100-116 Н (10,2-11,8 кгс) при длине 34,5 мм.

Если при проверке окажется, что усилие пружины на 10% меньше усилия новых пружин, то пружину необходимо заменить.

Следует иметь в виду, что усилие, создаваемое пружиной, уменьшается, если фаска клапана и фаска седла были подвергнуты шлифованию, так как при этом увеличивается рабочая высота пружины и, следовательно, уменьшается усилие прижатия клапана к седлу. Поэтому при сборке деталей клапанного механизма под опорные тарелки пружин надо подкладывать дополнительные шайбы. Толщину шайб выбирать так, чтобы при закрытом клапане длина большой пружины была 36,5 мм.

Уплотнительные шайбы.

Рис. 2-102. Конструкция уплотнения зазора между сухарями клапана двигателей УЗАМ: 1 - уплотнительная шайба

После каждой разборки клапанного механизма производить замену старых уплотнительных шайб 1 (рис. 2-102) новыми. Окончательную проверку уплотнительных шайб производить после сборки головки цилиндров.

Для этого установить головку так, чтобы оси каждого ряда клапанов были поочередно вертикальны, и в зазоры между сухарями налить бензин. Если бензин остается длительное время в зазорах между сухарями, то уплотнительные шайбы обеспечивают уплотнение. У клапанов, где просачивается бензин, заменить уплотнительные шайбы.

Проверка герметичности и притирка клапанов

Проверку герметичности клапанов можно осуществлять следующими способами:

- по разрыву слоя краски, наносимой на фаски седел и головок клапанов;

- по просачиванию керосина, заливаемого в камеру сгорания;

- с помощью приспособления и по методике, аналогично указанной для проверки герметичности клапанов двигателя ВАЗ (см. рис. 2-43).

В случае негерметичности клапанов следует произвести их притирку в следующем порядке:

- надеть на стержень 3 (рис. 2-103) притираемого клапана отжимную пружину;

- нанести на фаску головки клапана тонкий слой притирочной пасты, приготовляемой в виде смеси мелкого наждачного порошка с моторным маслом;

- вставить клапан с отжимной пружиной в направляющую втулку воротка и зафиксировать его прижимным винтом 1;

- проворачивать клапан с помощью приспособления в обе стороны, периодически слегка прижимая его к седлу.

При притирке не снимать с рабочих фасок клапанов и седел слишком много металла, так как это сокращает количество ремонтов седла и клапана и тем самым уменьшает общую продолжительность их службы. К концу притирки уменьшить содержание наждачного порошка в притирочной пасте, а с момента, когда притертые поверхности станут совершенно гладкими и примут ровный сероватый цвет, притирку вести только на одном чистом масле. Внешним признаком удовлетворительной притирки является однотонный матово-серый цвет (без черных пятен) на рабочих поверхностях головки клапана и его седла.

Рис. 2-103. Приспособление для притирки фасок клапанов двигателя УЗАМ: 1 - прижимной винт; 2 - вороток; 3 - стержень клапана

Рис. 2-104. Схема механизма привода распределительного вала двигателя УЗАМ: 1 - звездочка распределительного вала; 2 - цепь; 3 - успокоитель цепи; 4 - звездочка коленчатого вала; 5 - рычаг нажимного устройства со звездочкой; 6 - натяжитель цепи

Распределительный вал двигателя и его привод

Основные размеры распределительного вала и его подшипников даны в табл. 2-7. Схема механизма привода распределительного вала показана на рис. 2-104.

Регулировка зазоров между торцами регулировочных винтов коромысел и наконечниками стержней клапанов

Регулировку тепловых зазоров производить только на холодном двигателе, при температуре охлаждающей жидкости в системе охлаждения двигателя 15-25°C.

Зазоры между торцами регулировочных винтов коромысел и наконечниками стержней клапанов должны быть 0,15 мм для впускных и выпускных клапанов. При достижении нормального теплового режима на работающем двигателе (температура охлаждающей жидкости в рубашке головки цилиндров 80°C) зазоры станут нормальными - 0,2 мм.

Регулировку зазоров необходимо производить в следующем порядке:

- установить поршень первого цилиндра в ВМТ такта сжатия (оба клапана закрыты), провернув коленчатый вал двигателя так, чтобы метка 2 (см. рис. 2-79) на ободе шкива коленчатого вала совместилась с установочным приливом нижней крышки звездочек привода газораспределения;

- отрегулировать зазоры между торцами регулировочных винтов коромысел и наконечниками стержней клапанов. Гаечным ключом (S=14 мм) отпустить контргайку регулировочного винта коромысла и вращать его головку специальным торцевым ключом до получения требуемого зазора;

- проверить плоским щупом (рис. 2-105) зазоры между торцами регулировочных винтов коромысел и наконечниками стержней клапанов первого цилиндра;

- затянуть контргайки регулировочных винтов коромысел и вновь проверить зазоры плоским щупом 4;

- провернуть коленчатый вал ровно на половину оборота (180°);

- отрегулировать зазоры между торцами регулировочных винтов коромысел и наконечниками стержней клапанов третьего цилиндра. При таком положении коленчатого вала клапаны третьего цилиндра полностью закрыты и их коромысла освобождены;

- последующими поворотами коленчатого вала ровно на половину оборота установить поршни четвертого, а затем второго цилиндра в ВМТ такта сжатия, отрегулировать и проверить зазоры между торцами регулировочных винтов коромысел и наконечниками стержней клапанов указанных цилиндров;

- установить на место крышку головки цилиндров, проверив при этом состояние ее уплотнительной прокладки. В случае необходимости заменить прокладку (прокладка приклеивается к крышке бакелитовым лаком).

Рис. 2-105. Проверка теплового зазора у клапанов двигателей УЗАМ

Регулировка натяжения цепи

Отвернуть стопорный болт натяжного устройства на 0,5-0,75 оборота (см. рис. 2-89). Провернуть коленчатый вал по часовой стрелке на 2-3 оборота с отпущенным стопорным болтом натяжного устройства для выбора всех зазоров в приводе распределительного вала, после чего завернуть стопорный болт до упора.

Проверка распределительного вала

Тщательно промытый и насухо протертый распределительный вал осмотреть, замерить диаметры шеек и проверить состояние поверхностей кулачков, шеек и эксцентрика. При наличии задиров на кулачках вал для дальнейшей эксплуатации непригоден.

Шлифование шеек вала и кулачков под ремонтные размеры при износе не допускается. Пределы допустимых износов указаны в табл. 2-7. Если зазоры превышают допустимые значения, вал следует заменить.

Цепь привода распределительного вала

Проверку состояния цепи производить только при разборке механизма привода распределительного вала в следующем порядке:

- промыть тщательно цепь в бензине, вытереть ее чистой тряпкой и просушить;

- просмотреть все втулки цепи с целью выявления наличия трещин и сколов;

- разъединить одно звено цепи с помощью съемника (рис. 2-106) и проверить длину цепи, растянутой усилием 140 Н (14 кгс). Длина на участке, равном 50 звеньям, не должна превышать 480 мм.

Если длина цепи будет больше указанной, то ее необходимо заменить. Перед установкой на двигатель цепь обязательно смазать, окунув ее в моторное масло.

Рис. 2-106. Съемник для распрессовки осей звеньев цепи газораспределительного вала