РЕМКОМПЛЕКТ
эксплуатация, техническое обслуживание, ремонт автомобиля Москвич 2141, 2335
Москвич 2141, 2335







Конструкция привода передних колес и уход за ним

Привод переднего колеса состоит из двух шарниров равных угловых скоростей, закрытых чехлами и соединенных валом.

Правый и левый приводы взаимозаменяемы. Наружный шарнир компенсирует угловые перемещения, а внутренний - угловые и осевые перемещения (не менее 26 мм) ведущих колес.

Наружный шарнир 1 (рис. 3-128) включает в себя корпус 1 (рис. 3-129), сепаратор 2, внутреннюю обойму 3, шесть шариков 4 и запорное кольцо 3 (см. рис. 3-128).

В корпусе шарнира выполнено шесть канавок для размещения шариков. Шлицевой наконечник корпуса устанавливается в ступицу колеса и крепится к ней самоконтрящейся гайкой.

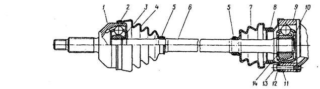
Рис. 3-128. Привод переднего колеса: 1 - наружный шарнир; 2 - хомут чехла наружного шарнира; 3 - запорное кольцо наружного шарнира; 4 - чехол наружного шарнира; 5 - малые хомуты чехлов; 6 - вал привода колеса; 7 - чехол внутреннего шарнира; 8 - хомут чехла внутреннего шарнира; 9 - внутренний шарнир; 10 - запорное кольцо внутреннего шарнира; 11 - чехлодержатель; 12 - пластина; 13 - винт; 14 - упорное кольцо

Рис. 3-129. Детали наружного шарнира: 1 - корпус шарнира; 2 - сепаратор; 3 - обойма; 4 - шарики

Обойма с шестью канавками под шарики устанавливается на шлицах вала и фиксируется запорным кольцом 3, вложенным в проточку обоймы.

Уход за приводом заключается в регулярной проверке затяжки винтов крепления внутренних шарниров к фланцам выходных валов дифференциала [момент затяжки винтов 30-40 Н·м (3-4 кгс·м)], проверке целостности защитных чехлов шарниров и надежности их крепления хомутами и проверке затяжки гайки крепления наружного шарнира привода к ступице переднего колеса [момент затяжки гайки 180-200 Н·м (18-20 кг-м)].

Внутренний шарнир, показанный на рис. 3-130, состоит из аналогичных наружному шарниру деталей, но у корпуса и обоймы расположение канавок под шарики выполнено как пересекающиеся прямые желоба. Такая конструкция позволяет деталям иметь относительное осевое перемещение. Обойма устанавливается на шлицах вала и фиксируется двумя кольцами 10 (см. рис. 3-128) и 14. Шарниры работают в специальной смазке ШРУС-4 и герметизируются резиновыми чехлами.

Рис. 3-130. Детали внутреннего шарнира: 1 - корпус; 2 - сепаратор; 3 - обойма; 4 - шарики

Работоспособность и долговечность шарниров в большой степени зависит от целостности чехлов и надежной герметизации шарниров и определяется по наличию люфтов в радиальном и осевом направлениях:

- радиальный люфт в шарнирах не допускается;

- для наружного шарнира осевой люфт допускается в пределах 0,3 мм.

При сборке внутреннего шарнира производится подбор корпуса и обоймы одной сортировочной группы. Поэтому замену шарнира необходимо производить только в сборе.

Возможные неисправности привода передних колес, причины их появления и методы устранения приведены в табл. 3-10.

Таблица 3-10. Возможные неисправности привода передних колес, причины их появления и методы устранения

Причина неисправности

Методы устранения

Шум, стук со стороны переднего колеса, особенно при поворотах автомобиля

1. Износ деталей шарниров, радиальных шарниров.

1. Заменить изношенные детали или заменить шарниры.

2. Деформация вала привода колес.

2. Заменить вал

3. Ослабление крепления привода.

3. Подтянуть болты крепления привода к фланцу дифференциала КПП и гайку крепления к ступице переднего колеса.

Утечка смазки из шарнира

1. Повреждение или разрыв защитного чехла внутреннего или наружного шарнира.

1. Разобрать и промыть детали шарнира. Заменить смазку в шарнире и защитный чехол.

2. Ослабление затяжки хомутов крепления чехла.

2. Добавить в шарнир смазку. Подтянуть хомуты.