![]() |
![]() |
![]() |
|||
| РЕМКОМПЛЕКТ эксплуатация, техническое обслуживание, ремонт автомобиля Москвич 2141, 2335 |
|||||
|
|
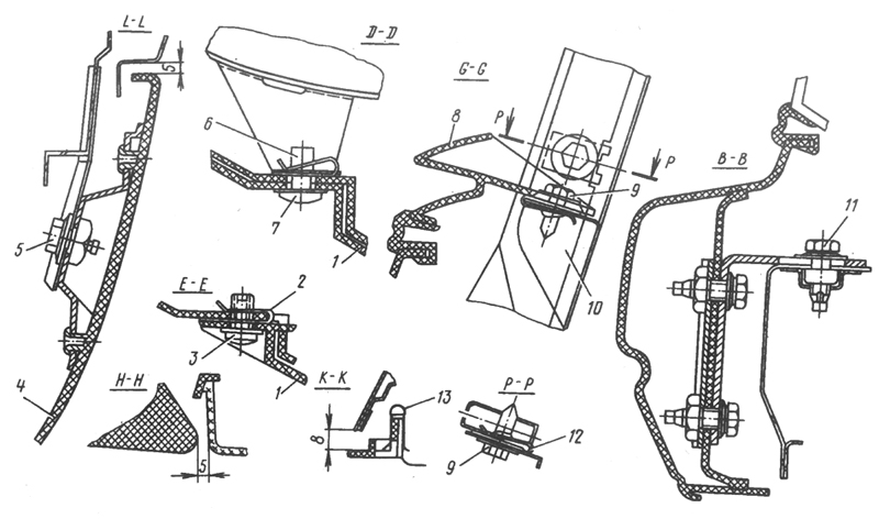
Замена облицовки радиатораНа рис. 8-44 дано изображение кузова с нанесенными сечениями по облицовке радиатора, переднему и заднему буферам с изображением их сечений на рис. 8-45 и рис. 8-46. Изображенные сечения дают представление о конструкции узлов и их крепления к кузову. Пластмассовая облицовка радиатора 8 (см. рис. 8-45) крепится к кузову в девяти местах: верхняя часть облицовки крепится четырьмя скобами 13 к верхней поперечине мотоотсека, нижняя часть - двумя самонарезающими винтами 9 к правому 10 и левому кронштейнам облицовки радиатора; кронштейны в свою очередь крепятся: правый - двумя такими же винтами, а левый - одним к передним стойкам мотоотсека кузова. Снизу к облицовке радиатора через декоративный кант примыкает передний буфер 4. Для снятия облицовки радиатора с кузова достаточно вывернуть два нижних самонарезающих винта 9 и снять четыре скобы 13 верхнего крепления.
Рис. 8-44. Кузов автомобиля с нанесенными сечениями, изображение которых дано на рис. 8-45 и 8-46
Рис. 8-45. Установка облицовки радиатора и переднего буфера: 1 - поддон буфера; 2 - пластинчатая гайка; 3 - винт крепления поддона; 4 - передний буфер; 5, 11 - болты крепления переднего буфера; 6 - пластинчатая гайка; 7 - винт; 8 - облицовка радиатора; 9 - самонарезающий винт; 10 - кронштейн крепления облицовки радиатора; 12 - пластинчатая гайка; 13 - скоба
Рис. 8-46. Установка заднего буфера: 1, 7 - болты; 2 - приварная гайка; 3, 10 - кронштейны буфера; 4 - приварной болт; 5, 9 - гайки; 6 - задний буфер; 8 - приварной кронштейн Кронштейны, закрепленные на боковых стойках мотоотсека и пластинчатые гайки 12 снимать не следует. Для того, чтобы снять скобы верхнего крепления облицовки радиатора, нужно подцепить отверткой низ скобы для вывода усиков скобы из-под края выреза облицовки радиатора. Под этими скобами находятся полоски липкой ленты, предохраняющие скрепляющие поверхности от повреждения. Установку облицовки радиатора на кузов проводить, обращая внимание на получение одинаковых зазоров между краями облицовки радиатора и оптическими элементами фар. Величина зазоров должна быть не более 5 мм. Кроме того, необходимо наклеить на места крепления скобами 13 полоски липкой ленты шириной 38 мм. |
||||