РЕМКОМПЛЕКТ
эксплуатация, техническое обслуживание, ремонт автомобиля Москвич 2140, 2140SL "Люкс"
Москвич 2140, 2140SL "Люкс"







Разборка коробки передач

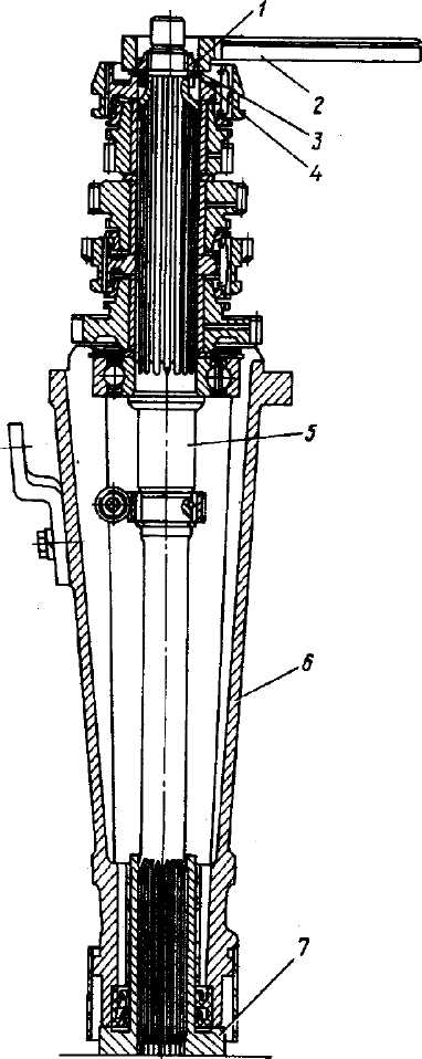
При разборке коробки передач применяйте стенд для разборки и сборки коробки передач (рис. 86). Стенд представляет собой угловую плиту 1, установленную на столе. В ней выполнено несколько отверстий: отверстие 2 для первичного вала в сборе с подшипником, отверстие 4 для оси блока шестерен промежуточного вала и отверстие 3 для направляющего стержня вилок.

Рис. 86. Стенд для разборки и сборки коробки передач: 1 - угловая плита; 2 - отверстие для первичного вала; 3 - отверстие для направляющего стержня вилок; 4 - отверстие для оси блока шестерен промежуточного вала; 5 - шпилька; 6 - гайка

Коробку передач в сборе с удлинителем и боковой крышкой установите на стенд, зафиксируйте по отверстиям в лапах картера на две шпильки 5 и прижмите к плите гайками 6.

Значительно облегчает работу по разборке коробки передач стенд (рис. 87), на котором коробка передач, закрепленная на плите, может поворачиваться вместе с ней.

Рис. 87. Стенд с поворотным устройством для разборки и сборки коробки передач

При отсутствии стенда производите разборку коробки передач, закрепляя ее в тисках за правые лапы картера. При этом на губки тисков должны быть установлены мягкие накладки. Затягивайте тиски минимальной силой, необходимой для удержания картера.

Разборку коробки передач производите в следующем порядке:

- отверните болты крепления крышки 56 люка паразитной шестерни заднего хода (см. рис. 80), снимите крышку;

- снимите со шлицев рычага вилку включения заднего хода 55;

- поставьте в нейтральное положение переключатель передач 48 (в этом положении он беспрепятственно перемещается вдоль своей оси);

- отверните болты крепления боковой крышки (с механизмом переключения передач в сборе) и снимите крышку, перемещая ее вначале параллельно самой себе до тех пор, пока шлицевой конец рычага вилки включения заднего хода не выйдет из отверстия в бобышке картера;

- отверните болты крепления кронштейна задней опоры двигателя к удлинителю и снимите кронштейн 36;

- отверните болты крепления удлинителя и выдвиньте удлинитель из картера на величину не менее 5 мм. Затем поверните удлинитель вокруг его продольной оси так, чтобы предусмотренная в его фланце выемка совместилась с осью блока шестерен 44, что необходимо для выпрессовки оси и дальнейшей разборки коробки передач;

- при необходимости проверки или замены паразитной шестерни заднего хода 2 (рис. 88) и ее оси 1 последнюю выпрессуйте из картера при помощи болта 5, втулки 3 и набора шайб 4;

- выпрессовку оси блока шестерен промежуточного вала производите при помощи трех оправок (заводские №№ 9454-529, 9454-530, 9480-2374), изображенных на рис. 89, предупреждающих рассыпание игл подшипников блока шестерен.

Рис. 88. Выпрессовка оси промежуточной шестерни заднего хода: 1 - ось промежуточной шестерни заднего хода; 2 - шестерня заднего хода; 3 - втулка; 4 - шайба; 5 - болт

Рис. 89. Оправки для выпрессовки и запрессовки оси блока шестерен промежуточного вала: 1 - полая оправка; 2 - короткая оправка

Выпрессовку оси начинают короткой оправкой 2 со стороны переднего торца картера. За короткой оправкой направляют полую оправку 1 и полностью вводят ее в отверстие блока шестерен. В процессе работы следите за тем, чтобы применяемые оправки не имели забоин. Допускается применение одной оправки той же длины, что и полая, но без рамок;

- поверните удлинитель вокруг его продольной оси так, чтобы открыть доступ к стержню 51 (см. рис. 80) вилок переключения передач;

- отверните винт 35 (для отвертывания винта нужно приложить повышенное усилие, так как головка винта закернена). При помощи выколотки выбейте из картера направляющий стержень вилок переключения передач; для облегчения этой операции после перемещения стержня примерно на 12 мм поверните его с помощью бородка на 90°, чтобы шарики фиксатора не попали в лунки стержня, затем извлеките из картера обе вилки и выпавшие из вилок шарики фиксаторов и их пружины;

- выведите из картера удлинитель с вторичным валом в сборе, для чего предварительно опустите блок шестерен промежуточного вала (в сборе с полой оправкой) до упора в дно картера;

- выпрессуйте из картера первичный вал, нанося по торцу его зубчатого венца легкие удары молотка через упирающуюся в венец бронзовую оправку.

Разборка первичного вала

Разборку первичного вала производите в следующем порядке:

- снимите стопорное кольцо подшипника первичного вала щипцами (рис. 90). При снятии кольца разожмите его настолько, чтобы оно только вышло из канавки, поскольку при чрезмерной деформации кольцо теряет свою упругость и не может быть использовано вторично. Если щипцы отсутствуют, то стопорное кольцо снимите двумя отвертками;

- спрессуйте подшипник первичного вала, пользуясь для этого ручным прессом и оправкой;

- снимите упорное кольцо с подшипника первичного вала;

- снимите стопорное кольцо 7 (рис. 80) первичного вала с помощью шила и выньте из гнезда первичного вала упорное кольцо 6 и ролики переднего подшипника 5 вторичного вала.

Рис. 90. Щипцы для монтажа и демонтажа стопорных колец: а - наружных; б - внутренних

Разборка удлинителя и вторичного вала

Разборку удлинителя и вторичного вала производите в следующем порядке:

- отверните болт крепления привода спидометра и, поворачивая редуктор, выньте его из удлинителя;

- установите вторичный вал 5 (рис. 91) задним концом в закрепленный стакан 7 и отверните концевую гайку 1, предварительно разогнув стопорную шайбу 3;

- удалите с помощью съемника 1 (рис. 92) со вторичного вала 10 муфту 2 со ступицей включения третьей и четвертой передач;

- установите лапки съемника между шестернями 4 и 5.

При отсутствии съемника выполните эту операцию с помощью двух отверток, которые следует вставить между шестернями 3 и 4;

- удалите с помощью того же съемника ступицу шестерни заднего хода 5. Эту операцию также можно выполнить и двумя отвертками, заведенными, как и съемник, в пространство между торцем удлинителя 9 и шестерней первой передачи 7. При этом примите меры, исключающие деформацию торца удлинителя, что может быть достигнуто применением широких отверток или с помощью подкладок;

- снимите упорное кольцо среднего подшипника вторичного вала щипцами и легкими ударами деревянного бруска в задний торец вторичного вала выбейте вал в сборе с подшипником из удлинителя;

- снимите со вторичного вала стопорное кольцо, а затем ведущую шестерню привода спидометра. Далее ударами деревянной рейки по вторичному валу выбейте шарик-фиксатор шестерни из отверстия вала;

- установите вторичный вал передним концом на деревянный брусок и с помощью трубок, опираясь во внутреннее кольцо подшипника, спрессуйте подшипник 8 (рис. 92) со вторичного вала 10;

- выпрессуйте из хвостовой части удлинителя 1 (рис. 93) сальники 2, используя для этого съемник. Если сальники подлежат замене, то можно удалить их отверткой.

Рис. 91. Отвертывание (завертывание) концевой гайки вторичного вала: 1 - гайка; 2 - динамометрический ключ; 3 - стопорная шайба; 4 - пружинная шайба; 5 - вторичный вал; 6 - удлинитель; 7 - стакан

Рис. 92. Разборка вторичного вала с помощью съемника: 1 - съемник для спрессовки со вторичного вала первой группы деталей; 2 - муфта со ступицей синхронизатора III и IV передач; 3 - шестерня III передачи; 4 - шестерня II передачи; 5 - шестерня заднего хода со ступицей; 6 - съемник для спрессовки со вторичного вала второй группы деталей; 7 - шестерня I передачи; 8 - шарикоподшипник; 9 - удлинитель; 10 - вторичный вал

Рис. 93. Выпрессовка сальника из горловины удлинителя с помощью съемника: 1 - удлинитель; 2 - сальники; 3 - лапки съемника; 4 - ползун; 5 - стакан; 6 - нажимная гайка; 7 - нажимной винт

Разборка механизма переключения передач (боковой крышки коробки)

Разборку механизма переключения передач производите в следующем порядке:

- установите механизм в приспособление, показанное на рис. 94 и 95. Аккуратно выбейте палец 4 (рис. 81), предварительно расшплинтовав и сняв гайку, и снимите рычаг 6;

- отверните винты крепления кронштейна 5. Снимите кронштейн и выньте упор 17 с пружинами. Если между упором заднего хода и пластиной кронштейна окажутся регулировочные прокладки, то при сборке механизма

все прокладки обязательно поставьте на место;

- отверните гайку и медной выколоткой выбейте клин 2 из рычага переключения передач и снимите рычаг;

- установите боковую крышку 7 (рис. 96) в приспособление для разборки деталей механизма переключения передач, разогнув стопор 2, отверните гайки 3 и снимите кронштейн 4 с упором переключения заднего хода;

- выньте из крышки замок 14 (см. рис. 81) с переключателем передач 12 и выньте из кольцевой канавки втулки сальник 13.

Рис. 94. Приспособление для разборки и сборки механизма переключения передач

Рис. 95. Установка боковой крышки коробки передач в приспособление

Рис. 96. Приспособление для разборки и сборки деталей механизма переключения передач, находящихся с внутренней стороны боковой крышки: 1 - замок вилок переключения передач; 2 - стопор гаек; 3 - гайка крепления кронштейна вала переключателя; 4 - кронштейн; 5 - валик вилки включения заднего хода; 6 - рычаг валика вилки включения заднего хода; 7 - боковая крышка; 8 - переключатель передач; 9 - приспособление

Разборка механизма управления коробкой передач

Разборку механизма производите в следующем порядке:

- выверните из корпуса 3 (см. рис. 82) выключатель света заднего хода 1. Если на выключатель надеты регулировочные прокладки 2, то при сборке механизма прокладки установите на прежнее место;

- выпрессуйте из ступицы 7 в направлении выключателя 1 света заднего хода ось 9 и снимите рычаг 6 в сборе с вкладышами 5 и втулками 8. При снятии рычага поверните вкладыши таким образом, чтобы они прошли через окно в ступице;

- отверните гайку и медным молотком выбейте клин 11 из поводка 4. Снимите верхний рычаг управления переключателем 12. Выпрессуйте из корпуса 3 втулки 10;

- отверните гайку и медным молотком выбейте клин из рычага 15 и, выдвигая ступицу 7 из корпуса 3 в бок (от рычага переключения передач 15), снимите рычаг 15. Выпрессуйте из корпуса ступицы втулки 13.