РЕМКОМПЛЕКТ
эксплуатация, техническое обслуживание, ремонт автомобиля Москвич 2141, 2335
Москвич 2141, 2335







Катушка зажигания Б115-В

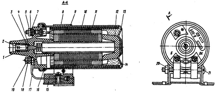
На двигателе установлена катушка зажигания Б115-В (рис. 7-28).

Технические характеристики

Максимальная частота вращения валика распределителя, при которой катушка обеспечивает бесперебойное искрообразование на стандартных трехэлектродных игольчатых разрядниках с искровым промежутком 7 мм, мин-1, не менее

2500

Величина добавочного сопротивления при температуре 20°C, Ом

0,95+0,05

Рис. 7-28. Катушка зажигания Б115-В: 1 - крышка; 2 - клемма высокого напряжения; 3 - самонарезающий винт; 4 - уплотнение; 5 - гайка клеммы низкого напряжения; 6 - пружинная шайба; 7 - плоская шайба; 8 - обмотка с магнитопроводом; 9 - скоба крепления катушки; 10 - наружное железо; 11 - изоляция; 12 - изолятор; 13 - кожух; 14 - трансформаторное масло; 15 - добавочное сопротивление; 16 - уплотнение крышки; 17 - пружина; 18 - пружинная шайба,; 19 - гайка клеммы низкого напряжения; 20 - гайка стяжного винта; 21 - стяжной винт

Проверка катушки зажигания

Проверка катушки зажигания на двигателе. Для проверки исправности катушки зажигания на автомобиле снять крышку с распределителя зажигания и, проворачивая коленчатый вал двигателя, установить контакты прерывателя в замкнутое состояние. Включить зажигание. Высоковольтный провод, идущий от катушки зажигания, подвести к "массе" двигателя на расстояние 5-7 мм и периодически размыкать контакты прерывателя рукой.

При исправной катушке зажигания (заряженной аккумуляторной батарее и исправном конденсаторе) каждое размыкание контактов должно сопровождаться бесперебойной искрой.

Проверка катушки зажигания на стенде. Проверку максимальной частоты вращения валика распределителя, при которой катушка зажигания обеспечивает бесперебойное искрообразование, производить на стенде для проверки приборов системы зажигания, оборудованном трехэлектродными игольчатыми разрядниками с искровым промежутком 7 мм.