![]() |
![]() |
![]() |
|||
| РЕМКОМПЛЕКТ эксплуатация, техническое обслуживание, ремонт автомобиля Москвич 2141, 2335 |
|||||
|
|
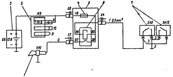
Звуковой сигналНа автомобилях устанавливается звуковой сигнал типа С-309. Он находится в отсеке двигателя и крепится на кронштейне. Схема включения звукового сигнала показана на рис. 7-59.
Рис. 7-59. Схема включения звуковых сигналов: 1 - звуковые сигналы; 2 - аккумуляторная батарея; 3 - генератор; 4 - предохранитель; 5 - блок предохранителей и реле; 6 - реле включения звуковых сигналов; 7 - выключатель звуковых сигналов Если сила звучания сигнала уменьшится или появится хрип, отрегулировать каждый сигнал поворотом винта на его корпусе в ту или иную сторону до получения громкого и чистого звука. Если регулировка не устраняет хрипа или сигнал работает прерывисто, то разобрать сигнал и зачистить контакты прерывателя. При сборке сигнала установить прежнюю прокладку между мембраной и корпусом сигнала так, чтобы не нарушить зазор (1,15+0,05) мм между сердечником и якорем. Если сигнал не включается, то проверить надежность соединения проводов, состояние контактов выключателя и реле в монтажном блоке. При необходимости зачистить контакты. |
||||