![]() |
![]() |
![]() |
|||
| РЕМКОМПЛЕКТ эксплуатация, техническое обслуживание, ремонт автомобиля Москвич 2141, 2335 |
|||||
|
|
Шаровые и резинометаллические шарниры рулевых тягРазборку шарового шарнира рулевой тяги необходимо производить в следующем порядке: - отвернуть гайку шарового пальца и выпрессовать шаровой палец из поворотного рычага при помощи съемника, показанного на рис. 5-5. Если съемника нет, то нанести несколько резких ударов молотком по боковым поверхностям головки поворотного рычага и легкими ударами молотка по торцу пальца через медную или алюминиевую прокладку сдвинуть его, а затем, отвернув гайку, вытащить палец из поворотного рычага;
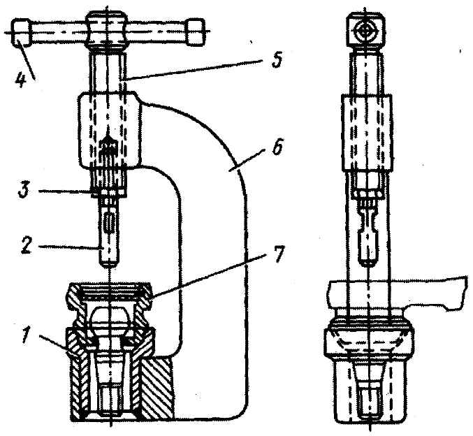
Рис. 5-5. Съемник для выпрессовки шарового шарнира из наконечника рулевой тяги: 1 - поворотный рычаг; 2 - корпус; 3 - винт - удалить шплинт-проволоку 58 (см. рис. 5-1) с грязезащитного чехла 60 и снять чехол и опорную шайбу 61; - сжать усики стопорного кольца 51 и вынуть его из наружного наконечника рулевой тяги; -удалить из наконечника заглушку 52, уплотнительное кольцо 57, пружину 53, нажимной 55 и нижний опорный 56 вкладыши, шаровой палец 54 и верхний опорный вкладыш 59. После разборки для проверки технического состояния шарового шарнира необходимо промыть полости наконечника рулевой тяги и все металлические детали в керосине. Резиновые и пластмассовые детали промыть в теплой воде и протереть чистой тряпкой. Внимательно осмотреть, нет ли на рабочих поверхностях шарового пальца 54, опорных вкладышах 56 и 59 и на посадочных местах наконечника 50 рулевой тяги следов износа, задиров или рисок. Изношенные и поврежденные детали заменить. Сборку шарового шарнира рулевой тяги необходимо проводить в следующем порядке: - вложить в наконечник рулевой тяги, предварительно смазав его, верхний опорный вкладыш, шаровой палец, нижний и нажимной вкладыши, пружину, уплотнительное кольцо и заглушку; - с помощью приспособления, показанного на рис. 5-6, или утопив заглушку отверткой и сжав усики стопорного кольца, установить стопорное кольцо в канавку наконечника;
Рис. 5-6. Приспособление для сборки шарниров рулевых тяг: 1 - втулка с прорезью; 2 - стержень; 3 - контргайка; 4 - вороток; 5 - винт; 6 - корпус; 7 - наконечник рулевой тяги - покачивая шаровой палец рукой из одного крайнего положения в другое, убедиться в том, что для перемещения пальца требуется некоторое усилие. Если после замены изношенных деталей качание пальца все же будет очень легким, необходимо подложить под заглушку шайбу толщиной 0,5-2 мм и диаметром, равным диаметру заглушки. Осевое перемещение пальца не должно быть более 0,5 мм при усилии 80-100 Н (8-10 кгс); - надеть на палец опорную шайбу; - надеть на наконечник рулевой тяги полностью заполненный смазкой солидол жировой Ж грязезащитный чехол, аккуратно вложить в паз чехла проволоку, закрутить ее концы на два-три оборота и навернуть на резьбовой конец хвостовика шарового пальца гайку. Окончательную затяжку гайки производить после подсоединения шарового пальца к поворотному рычагу (на автомобиле), момент затяжки 30-40 Н·м (3-4 кгс·м). Гайку зашплинтовать. При износе, повреждении или разрушении резинометаллического шарнира 36 (см. рис. 5-4) выпрессовать его, использовав специальное приспособление 80-П125. Сборку шарнира производить на прессе специальными оправками приспособления 80-П125, при этом перед запрессовкой обильно смазать мыльной водой гнездо и наружную поверхность шарнира. Это облегчит запрессовку шарнира и предохранит его от повреждений. |
||||