РЕМКОМПЛЕКТ
эксплуатация, техническое обслуживание, ремонт автомобиля Москвич 2141, 2335
Москвич 2141, 2335







Система охлаждения

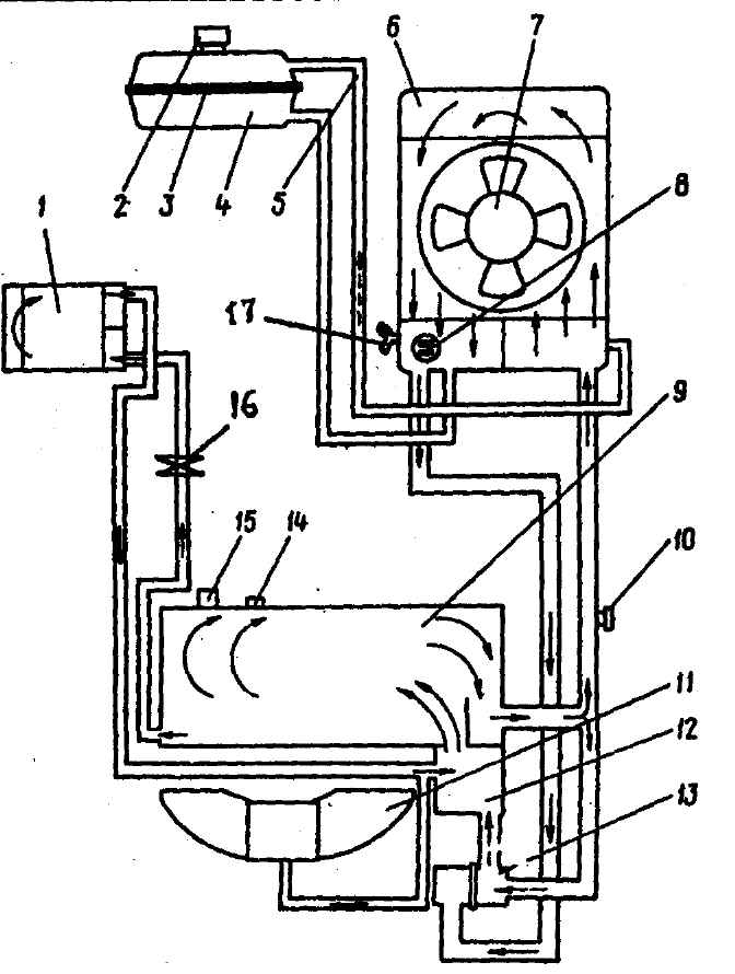
Принципиальная схема системы охлаждения автомобилей с двигателями ВАЗ показана на рис. 2-61.

Система охлаждения жидкостная, закрытого типа, с принудительной циркуляцией, с расширительным бачком.

Вентилятор имеет пластмассовую четырехлопастную крыльчатку, установленную на валу электродвигателя, включение и выключение которого осуществляется от датчика включения вентилятора.

Термостат с твердым термочувствительным наполнителем имеет два клапана - основной и дополнительный. Начало открытия основного клапана происходит при температуре охлаждающей жидкости (80+2)°C, ход основного клапана при достижении температуры 94°C не менее 8 мм.

Радиатор системы охлаждения: трубчато-ленточный медно-латунный с пластмассовыми бачками. Радиатор двухходовой, с перегородкой в правом бачке. Охлаждающая жидкость заливается через наливную горловину расширительного бачка, пробка которого имеет впускной и выпускной клапаны. Давление начала открытия выпускного клапана 100 кПа (1,0 кгс/см2). Впускной клапан открывается при возникновении разряжения в системе.

Рис. 2-61. Принципиальная схема системы охлаждения автомобилей с двигателем ВАЗ: 1 - радиатор отопителя; 2 - пробка расширительного бачка; 3 - шов соединения верхней и нижней половин бачка; 4 - расширительный бачок; 5 - пароотводящая трубка; 6 - радиатор системы охлаждения; 7 - электровентилятор; 8 - датчик включения электровентилятора; 9 - двигатель; 10 - пробка для выпуска воздуха из системы при заправке; 11 - впускная труба двигателя; 12 - насос охлаждающей жидкости; 13 - термостат; 14 - пробка для слива жидкости из двигателя; 15 - датчик указателя температуры охлаждающей жидкости; 16 - кран отопителя; 17 - пробка сливная радиатора

Проверка уровня и плотности охлаждающей жидкости

В полностью заправленной системе охлаждения уровень жидкости в расширительном бачке на холодном двигателе должен быть на 5-10 мм выше соединительного шва 3 (см. рис. 2-61) верхних и нижних половин бачка.

Предупреждение. Уровень охлаждающей жидкости проверять на холодном двигателе при температуре 15-20°C. так как при нагревании объем жидкости увеличивается и у прогретого двигателя ее уровень может значительно подняться.

При необходимости можно проверить денсиметром плотность охлаждающей жидкости, которая должна быть 1,075-1,085 г/см3 для жидкости ТОСОЛ-А40.

Если уровень жидкости в бачке ниже нормы, а плотность выше, то долить дистиллированную воду, а если плотность нормальная - долить ТОСОЛ-А40. При плотности жидкости в системе ниже нормы - долить в систему жидкость ТОСОЛ-А40 или заменить всю охлаждающую жидкость.

Замена охлаждающей жидкости

Замену охлаждающей жидкости необходимо производить в следующем порядке:

- поставить под двигатель емкость для слива жидкости;

- вывернуть пробку 14 (см. рис. 2-61) сливного отверстия в блоке цилиндров;

- вывернуть сливную пробку 17 (см. рис. 2-61) слива охлаждающей жидкости из радиатора;

- отвернуть пробку 2 расширительного бачка;

Предупреждение. В медно-латунном радиаторе за счет сил поверхностного натяжения в горизонтальных трубках удерживается некоторое количество жидкости.

Чтобы удалить оставшуюся жидкость, следует продуть радиатор сжатым воздухом под давлением 80-100 кПа (0,8-1,0 кгс/см2). Подачу сжатого воздуха в радиатор надо производить через пароотводящую трубку, для чего снять один ее конец с верхнего патрубка расширительного бачка;

- по окончании слива жидкости из системы охлаждения двигателя завернуть пробки, снятые с блока и радиатора;

- заполнить систему чистой водой через наливную горловину расширительного бачка 4 (см. рис. 2-61) таким образом, чтобы уровень был выше соединительного шва 3 на 5-10 мм. Затем следует завернуть пробку 2.

Примечание. При заправке жидкостью системы охлаждения двигателя необходимо из пластмассового патрубка, расположенного в ветви подачи жидкости из двигателя в радиатор, вывернуть пробку 10 (рис. 2-61) для спуска воздуха. После заправки пробку завернуть на место;

- пустить двигатель, прогреть его при средней частоте вращения коленчатого вала. При этом вода будет циркулировать по большому кругу, промывая радиатор;

- остановить двигатель, слить воду, снова заполнить систему и повторить промывку;

- после повторной промывки слить воду, продуть радиатор;

- залить охлаждающую жидкость ТОСОЛ-А40, пустить двигатель и дать, ему поработать 2-3 мин. при повышенной частоте вращения (2500-3500 мин-1) коленчатого вала на холостом ходу для определения герметичности соединений системы охлаждения и удаления воздушных пробок.

После остывания двигателя проверить уровень жидкости. Если уровень ниже нормального, а в системе охлаждения нет следов подтекания, то долить жидкость до нормы.

Регулировка натяжения ремня привода насоса

Натяжение ремня проверяется прогибом его между шкивами.

На двигателе мод. 2106 при нормальном натяжении ремня прогиб А (рис. 2-62) под усилием 100 Н (10 кгс) должен быть в пределах 10-15 мм, а прогиб В - в пределах 12-17 мм.

Регулировку натяжения ремня производить перемещением генератора, для чего отвернуть гайки крепления генератора, сместить генератор и затянуть гайки.

Рис. 2-62. Схема проверки натяжения ремня привода насоса охлаждающей жидкости двигателя ВАЗ

Снятие и установка радиатора и расширительного бачка

Снятие радиатора и расширительного бачка с автомобиля необходимо выполнять на холодном двигателе в следующем порядке:

- слить охлаждающую жидкость из двигателя и радиатора;

- отсоединить электрические провода от датчика включения вентилятора и от вентилятора;

- отсоединить шланги от радиатора и от расширительного бачка;

- снять четыре направляющих кожуха (верхний, правый, левый и нижний) с учетом следующего:

а) для снятия верхнего кожуха его необходимо вывести из специальных удерживающих пазов;

б) для снятия правого и левого кожухов необходимо отстегнуть специальные защелки (на левом - две, на правом - три) и вывести кожухи из пазов;

в) для снятия нижнего кожуха необходимо отвернуть три болта, крепящих его к радиатору;

- снять электровентилятор с направляющим кожухом в сборе, для чего сделать следующее:

а) отвернуть гайку крепления кожуха к нижнему кронштейну крепления радиатора;

б) отвернуть гайки крепления кожуха к радиатору и снять кожух с электровентилятором в сборе;

- отвернуть две гайки крепления радиатора к нижнему кронштейну крепления радиатора и два болта крепления радиатора и снять радиатор;

- отвернуть болт крепления расширительного бачка и снять бачок с автомобиля.

Установку радиатора и расширительного бачка следует производить в обратном порядке.

Проверка герметичности радиатора

Герметичность радиатора проверяется в ванне с водой.

Заглушив патрубки радиатора, следует подвести к нему воздух под давлением 100 кПа (1 кгс/см2) и опустить в ванну с водой не менее чем на 30 с. При этом не должно наблюдаться появления в воде пузырьков воздуха.

При обнаружении повреждений или негерметичности радиатор отремонтировать или заменить новым.

Термостат

У термостата следует проверить температуру начала открытия основного клапана и ход основного клапана.

Для этого термостат установить на стенде БС-106, опустив в бак с водой или охлаждающей жидкостью. Снизу в тарелку 9 (рис. 2-63) основного клапана подвести кронштейн ножки индикатора.

Начальная температура жидкости в баке должна быть 73-75°C. Температуру жидкости постепенно увеличивать примерно на 1°C в минуту при постоянном перемешивании, чтобы она во всем объеме жидкости была одинаковой.

За температуру начала открытия клапана принимать ту, при которой ход основного клапана составит 0,1 мм.

Термостат необходимо заменить, если температура начала открытия основного клапана не находится в пределах 81+5-4°C или ход клапана менее 6 мм.

Рис. 2-63. Термостат: 1 - входной патрубок (от двигателя); 2 - байпасный клапан; 3 - пружина байпасного клапана; 4 - стакан; 5 - резиновая вставка; 6 - выходной патрубок; 7 - пружина основного клапана; 8 - седло основного клапана; 9 - тарелка основного клапана; 10 - держатель; 11 - регулировочная гайка; 12 - поршень; 13 - входной патрубок от радиатора; 14 - наполнитель; 15 - обойма

Насос охлаждающей жидкости двигателя

Снятие насоса

Снятие насоса необходимо производить в следующем порядке:

- слить охлаждающую жидкость из двигателя;

- отсоединить от насоса муфту, соединяющую термостат с насосом;

- отсоединить от насоса и выпускного коллектора отводную трубку из радиатора отопителя и снять насос.

Разборка насоса

Разборку насоса необходимо производить в следующем порядке:

- отсоединить корпус 1 (рис. 2-64) насоса от крышки 6;

закрепить крышку в тисках, использовав прокладки, и снять крыльчатку 9 с валиком съемником А.40026 (рис. 2-65);

- снять ступицу 2 (рис. 2-66) шкива вентилятора с валика при помощи приспособления А.40005/115;

- вывернуть стопорный винт 5 (см. рис. 2-64) и вынуть подшипник 2 с валиком 7 насоса; удалить сальник 8 из крышки 6 корпуса.

Рис. 2-64. Насос охлаждающей жидкости двигателя ВАЗ: 1 - корпус; 2 - подшипник; 3 - шкив; 4 - ступица шкива; 5 - стопорный винт; 6 - крышка корпуса; 7 - валик; 8 - сальник; 9 - крыльчатка

Рис. 2-65. Снятие крыльчатки насоса: 1 - съемник А.40026; 2 - крыльчатка

Рис. 2-66. Снятие ступицы шкива насоса: 1 - крышка корпуса; 2 - ступица шкива; 3 - съемник

Проверка насоса

Проверить осевой зазор в подшипнике [он не должен превышать 0,13 мм при нагрузке 50 Н (5 кгс)], особенно если отмечался значительный шум насоса. При необходимости подшипник заменить.

Сальник насоса и прокладку между насосом и блоком цилиндров при ремонте рекомендуется заменять.

Осмотреть корпус и крышку насоса. Деформации или трещины не допускаются

Сборка насоса

Сборку насоса необходимо производить в следующем порядке:

- установить оправкой сальник, не допуская его перекоса, в крышку корпуса;

- запрессовать подшипник с валиком в крышку так, чтобы гнездо стопорного винта совпало с отверстием в крышке корпуса;

- завернуть стопорный винт подшипника и зачеканить контуры гнезда винта, чтобы он не отворачивался;

- напрессовать ступицу 2 (рис. 2-67) шкива на валик 3 с помощью приспособления А.60430, выдержав размер (84,4+0,1) мм;

- напрессовать крыльчатку на валик с помощью приспособления А.60430, обеспечив зазор 0,9-1,3 мм (см. рис. 2-64) между лопатками крыльчатки и корпусом насоса;

- собрать корпус насоса с крышкой, установив между ними прокладку.

Рис. 2-67. Напрессовка крыльчатки на валик насоса приспособлением А.60430: 1 - опора; 2 - ступица шкива; 3 - валик насоса; 4 - крышка корпуса; 5 - стакан; 6 - установочный винт