РЕМКОМПЛЕКТ
эксплуатация, техническое обслуживание, ремонт автомобиля Москвич 2141, 2335
Москвич 2141, 2335







Система питания

Особенностью системы питания двигателей является возможность проведения ремонтных воздействий на узлы и агрегаты, а также регулировочные работы без их демонтажа с автомобиля в составе двигателя.

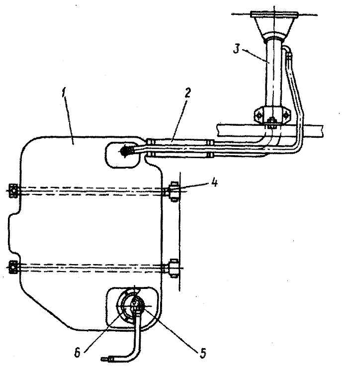
На автомобилях с двигателями ВАЗ могут устанавливаться топливные баки двух типов: стальные, сварные из двух половин, штампованных из освинцованных листов, или пластмассовые, полученные методом формования с выдувкой. Эти баки не являются полностью взаимозаменяемыми, поэтому при замене целесообразно использовать бак того же типа, что был установлен на автомобиле. В противном случае кроме самого бака следует заменить шланг, соединяющий бак с наливной трубой и хомуты крепления бака.

Топливный бак установлен под полом в зоне заднего сидения и крепится к кузову автомобиля стальными хомутами.

Топливопроводы изготавливаются из оцинкованных стальных трубок, имеющих наружный диаметр 6 мм, и крепятся к днищу кузова пластмассовыми скобами.

В ветви топливопровода от топливного насоса к карбюратору установлен неразборный фильтр тонкой очистки топлива.

Воздушный фильтр выносной, имеет пластмассовый корпус и бумажный сухой фильтрующий элемент, а также регулятор для подачи холодного или подогретого воздуха.

Рис. 2-68. Принципиальная схема установки топливного бака: 1 - топливный бак; 2 - соединительный шланг; 3 - наливная труба; 4 - хомут крепления топливного бака; 5 - датчик уровня топлива с топливоприемной трубкой; 6 - крышка

Рис. 2-69. Принципиальная схема установки наливной трубы топливного бака: 1 - лонжерон; 2 - болт крепления наливной трубы; 3 - чехол; 4 - распорное кольцо; 5 - пробка; 6 - наливная труба; 7 - воздушная трубка

Топливный бак

Снятие и установка

Принципиальная схема установки топливного бака показана на рис. 2-68, а наливной трубы топливного бака - на рис. 2-69.

Снятие топливного бака 1 (см. рис. 2-68) необходимо производить в следующем порядке:

- установить автомобиль на подъемник или над смотровой канавой;

- отсоединить от аккумуляторной батареи "массовый" провод;

- поднять коврик, расположенный в левой части багажного отсека за задним сиденьем, и снять стальную крышку 6, закрывающую датчик 5 уровня топлива, отвернув три винта;

- отсоединить электрические провода от датчика уровня топлива и шланг от топливозаборной трубки;

- специальным ключом повернуть против часовой стрелки замковую шайбу, крепящую датчик уровня топлива к топливному баку, и вынуть датчик через отверстие в полу.

Примечание. Снятие датчика уровня топлива можно производить с использованием специального ключа после снятия бака с автомобиля;

- удалить из бака отсасывающим устройством максимально возможное количество топлива;

- снять пробку 5 (см. рис. 2-69) наливной трубы;

- отвернуть болт 2 крепления наливной трубы 6 к лонжерону 1;

- вынуть из паза резинового чехла 3 наливной трубы распорное кольцо 4;

- ослабить хомуты и снять с наливной трубы соединительный шланг 2 (см. рис. 2-68);

- снять наливную трубу и отсоединить от нее воздушную трубку 7 (см. рис. 2-69);

- отвернуть две гайки крепления хомутов 4 (см. рис. 2-68) и снять топливный бак с автомобиля, перемещая его вниз и вперед.

Очистка, проверка и ремонт топливного бака

Для удаления загрязнений и отложений промыть топливный бак. Затем струей горячей воды промыть и пропарить бак для удаления паров топлива.

Тщательно осмотреть бак.

Пластмассовый бак ремонту не подлежит и в случае повреждения или обнаружения негерметичности подлежит замене.

Обнаруженные места течи у стального бака по стыку можно запаять мягким припоем.

Предупреждение. Паять можно только хорошо промытый и пропаренный бак, не содержащий паров бензина, чтобы исключить возможность возникновения воспламенения и взрыва при пайке.

На автомобилях мод 2335 с кузовом типа "пикап" топливный бак отличается от топливного бака автомобилей мод. 2141 с кузовом типа "Хэтчбек" конфигурацией бака и конструкцией наливной трубы.

Установка топливного бака и наливной трубы производится в обратном порядке.

Рис. 2-70. Топливный насос двигателя ВАЗ: 1 - нагнетательный патрубок; 2 - фильтр; 3 - корпус; 4 - всасывающий патрубок; 5 - крышка; 6 - всасывающий клапан; 7 - тяга; 8 - рычаг ручной подкачки топлива; 9 - пружина; 10 - эксцентрик; 11 - балансир; 12 - рычаг механической подкачки топлива; 13 - нижняя крышка; 14 - внутренняя дистанционная прокладка; 15 - наружная дистанционная прокладка; 16 - нагнетательный клапан

Топливный насос двигателя

Проверка насоса

Недостаточное наполнение карбюратора топливом может быть вызвано неисправностью топливного насоса, а также засорением или повреждением трубопроводов.

Чтобы найти причину неисправности, следует отсоединить шланг от нагнетательного патрубка 1 (рис. 2-70) и с помощью рычага 8 ручной подкачки топлива проверить, подается ли топливо. Если топлива нет, то отсоединить шланг от всасывающего патрубка 4 и проверить, создается ли разрежение на выходе этого патрубка. Если разрежение имеется, то, по-видимому, поврежден трубопровод, а если нет разрежения, то неисправен насос.

Дополнительно топливный насос можно проверить на стенде. Вращая валик привода, имеющий эксцентриситет кулачка 1,25+0,02 мм, с частотой 2000+40 мин-1, проверить подачу насоса, которая должна быть не менее 54 л/ч при 20+5°C, и давление нагнетания, которое должно быть 2,3-3 м водяного столба при нулевой подаче. При подозрении на неисправность насос разобрать и проверить его детали.

Разборка насоса, очистка и проверка его деталей

Для разборки насоса следует отвернуть болт крепления крышки 5 (см. рис. 2-70), снять крышку и фильтр 2. Затем отвернуть винты крепления корпуса к нижней крышке, разъединить их, вынуть узел диафрагм в сборе с прокладками 14 и 15 и пружину. Промыть бензином все детали и продуть сжатым воздухом.

Проверить целостность пружин насоса.

Проверить, нет ли заедания клапанов. Проверить диафрагмы. На них не должно быть трещин или затвердевания.

После проверки все изношенные или поврежденные детали заменить новыми. Прокладки насоса всегда заменять новыми и перед установкой смазывать тонким слоем смазки.

Рис. 2-71. Схема установки и контроля выступания толкателя привода насоса двигателя ВАЗ: А - прокладка толщиной 0,27-0,33 мм; В - прокладка толщиной 0,7-0,8 мм; d - выступание толкателя

Установка насоса на двигатель

Для правильной установки топливного насоса следует использовать две из трех нижеуказанных прокладок: А - толщиной 0,27-0,33 мм; В - толщиной 0,7-0,8 мм; С - толщиной 1,1-1,3 мм.

Схема установки насоса показана на рис. 2-71. Установку насоса необходимо производить в следующем порядке: установить теплоизоляционную проставку на блок цилиндров, поставив между ними прокладку А, а на плоскость, сопрягающуюся с насосом, поместить прокладку В. Приспособлением 67.7834.9506 замерить расстояние d (минимальная величина, на которую выступает толкатель, установленная медленным поворотом коленчатого вала). Если размер d находится в пределах 0,8-1,3 мм, то закрепить насос на двигателе; если d меньше 0,8 мм, прокладку В заменить прокладкой А; если d больше 1,3 мм, то прокладку В заменить прокладкой С. Еще раз проверить размер d и закрепить насос на двигателе.

Примечание. Между насосом и теплоизоляционной проставкой всегда должна быть прокладка А.

Карбюратор

На двигателе мод. 2106 установлен карбюратор 2141-1107010, разработанный на базе карбюратора 2107-1107010. Основные тарировочные данные карбюратора приведены в табл. 2-6.

Таблица 2-6. Основные тарировочные данные карбюраторов

Показатели

2141-1107010

2141-1107010

2141-1107010-11

2141-1107010-20

2141-1107010-30

ДААЗ-2141

ДААЗ-21041

ДААЗ-2140-50

ДААЗ-2140-70

ДААЗ-21041-10

Первая камера

Вторая камера

Первая камера

Вторая камера

Первая камера

Вторая камера

Первая камера

Вторая камера

Первая камера

Вторая камера

Диаметр диффузоров, мм

22

25

23

24

22

25

22

24

26

25

Диаметр смесительной камеры, мм

28

36

30

32

28

32

28

32

32

32

Номер тарировки распылителя смеси

3,5

4,5

4,5

4

3,5

4

3,5

4

Симметричный*

Диаметр главного топливного жиклера, мм

1,12

1,5

1,12

1,28

1,09

1,4

1,12

1,5

102,5**

120**

Диаметр главного воздушного жиклера, мм

1,5

1,5

1,8

1,7

1,7

1,5

1,7

1,7

135**

155**

Номер тарировки эмульсионной трубки

F15

F15

F15

F15

F15

F15

F15

F15

zd

zc

Диаметр топливного жиклера холостого хода, мм

0,5

0,6

0,5

0,6

0,5

0,75

0,5

0,75

40+3**

70**

Диаметр воздушного жиклера холостого хода, мм

1,7

0,7

1,35

0,7

1,7

0,7

1,4

0,7

150***

120***

Диаметр отверстия распылителя насоса-ускорителя, мм

0,4

-

0,45

-

0,5

-

0,5

-

40**

40**

Диаметр перепускного жиклера насоса-ускорителя, мм

0,4

-

0,4

-

0,3

-

0,3

-

-

-

Производительность насоса-ускорителя за 10 циклов, см3

7+2

8+2

12+3

12+3

14+2,1

Диаметр топливного жиклера эконостата, мм

-

1,5

-

1,5

-

1,2

-

1,2

-

90***

Диаметр воздушного жиклера эконостата, мм

-

1,2

-

0,55

-

1,4

-

1,4

-

-

Диаметр эмульсионного жиклера эконостата, мм

-

1,2

-

-

-

1,2

-

1,2

-

2,35****

Диаметр воздушного жиклера пневмоэкономайзера, мм

-

-

1,12

-

-

-

-

-

-

-

Маркировка топливного жиклера экономайзера

-

-

-

-

-

-

-

-

60**

-

Диаметр воздушного жиклера пускового устройства, мм

0,7

-

0,7

-

0,7

-

0,7

-

-

-

Диаметр жиклера игольчатого клапана, мм

-

-

-

-

-

-

-

-

1,8

Зазоры у заслонок для регулировки пускового устройства, мм: воздушной дроссельной

5,5+0,25
0,9-1,0

4+0,25
1,6-1,7

3+0,25
1,6-1,7

3+0,25
1,6-1,7

2,7+0,1
1,6

* Тип распылителя.

** Маркировка жиклера или трубки.

*** Тарировка жиклера.

**** Диаметр отверстия распылителя

Примечание. Все замеры, имеющие сноски *, **, ***, ****, производятся по заводским (ДААЗ) контрольным приборам.

Карбюратор 2141-1107010 эмульсионного типа, двухкамерный, с падающим потоком, с последовательным открытием дроссельных заслонок (привод дроссельной заслонки второй камеры пневматический).

Карбюратор имеет сбалансированную поплавковую камеру, систему отсоса картерных газов за дроссельную заслонку с золотниковым механизмом.

В карбюраторе имеются две главные дозирующие системы (первой и второй камер), эконостат, автономная система холостого хода с экономайзером принудительного холостого хода (ЭПХХ), переходная система второй камеры, диафрагменный ускорительный насос с механическим приводом, воздушная заслонка с диафрагменным пусковым устройством для пуска холодного двигателя, патрубок для подачи управляющего разрежения к вакуумному регулятору распределителя зажигания.

Датчиком положения дроссельной заслонки для управления системой ЭПХХ является микропереключатель, установленный на специальном кронштейне.

Снятие и установка карбюратора

Снятие карбюратора необходимо производить в следующем порядке:

- снять с карбюратора подводящий фланец 3 (см. рис. 2-2), отвернув четыре гайки 4;

- снять со штуцера перепускной шланг 7 системы вентиляции картера;

- отсоединить от карбюратора: трос 1 (см. рис. 2-4) привода дроссельной заслонки, трос 3 привода воздушной заслонки, оттяжную пружину 12, трубку 7 от карбюратора к распределителю, трубку 9 от карбюратора к пневмоэлектроклапану, провода 8 к датчику положения дроссельной заслонки, трубку 6 подвода топлива к карбюратору;

- отвернуть четыре гайки 5 крепления карбюратора и снять карбюратор, кронштейн 14 упора оболочки троса 3 с закрепленной на нем оболочкой троса.

Разборка карбюратора

Разборку карбюратора 2141-1107010 необходимо производить в следующем порядке:

- отвернуть пробку сетчатого фильтра и вынуть фильтр;

- отсоединить телескопическую тягу привода пускового устройства от рычага привода воздушной заслонки;

- отвернуть винты крепления крышки корпуса карбюратора и снять крышку вместе с уплотнительной прокладкой;

- вынуть ось поплавка и снять поплавок и уплотнительную прокладку;

- вынуть клапан и вывернуть корпус клапана;

- вывернуть топливные жиклеры холостого хода;

- вывернуть воздушные жиклеры главной дозирующей системы;

- отвернуть топливопроводящий винт крепления корпуса распылителей и снять корпус распылителей с уплотнительной прокладкой;

- расшплинтовать тягу, связывающую оси воздушной и дроссельной заслонок;

- отвернуть два винта крепления пневмопривода дроссельной заслонки к корпусу карбюратора и два винта крепления корпуса дроссельных заслонок к корпусу карбюратора и отделить корпус дроссельных заслонок;

- поворотом ограничительных втулок винтов качества и количества смеси системы холостого хода срезать головки ограничительных втулок и снять с винтов их оставшиеся части;

- отвернуть два винта крепления корпуса экономайзера принудительного холостого хода и вынуть экономайзер из корпуса дроссельных заслонок;

- вывернуть из корпуса дроссельных заслонок винт качества смеси системы холостого хода.

Примечание. В связи с тем, что основные детали корпуса дроссельных заслонок не обладают взаимозаменяемостью, разборку корпуса не производить.

Рис. 2-72. Установка уровня топлива в поплавковой камере: 1 - крышка карбюратора; 2 - седло игольчатого клапана; 3 - упор; 4 - игольчатый клапан; 5 - шарик запорной иглы; 6 - оттяжная вилка иглы клапана; 7 - кронштейн поплавка; 8 - язычок; 9 - поплавок; 10 - прокладка

Очистка и контроль состояния деталей карбюратора

Все разобранные узлы и детали карбюратора промыть бензином и продуть сжатым воздухом. При наличии обильных смолистых отложений узлы и детали промыть в ацетоне или в растворителе для нитрокрасок.

Предупреждение. Не допускается чистка жиклеров проволокой или любыми другими металлическими предметами так как в этом случае будет нарушена их калибровка.

Осмотреть прокладки карбюратора; поврежденные прокладки заменить новыми.

Проверить герметичность клапана 4 (рис. 2-72).

Проверить на герметичность поплавок 9 перед установкой его в крышку корпуса карбюратора.

При необходимости пайки поплавка принять меры предосторожности во избежание взрыва паров бензина. После пайки масса поплавка в сборе с кронштейном 7 должна быть в пределах (12+0,5) г.

Сборку карбюратора следует производить в обратном порядке

Необходимый уровень топлива в карбюраторе обеспечивается правильной установкой исправных элементов его запорного устройства (см. рис. 2-72).

Расстояние между поплавком 9 и прокладкой 10, прилегающей к крышке карбюратора (размер А), должно составлять (6,5+0,25) мм. Регулируется этот размер подгибанием язычка 8. При этом опорная поверхность язычка должна быть перпендикулярна оси игольчатого клапана и не должна иметь зазубрин и вмятин.

Контроль производить калибром 80-П007. Крышку корпуса следует держать вертикально таким образом, чтобы язычок 8 поплавка слегка касался шарика 5 запорной иглы, не утапливая его.

Величину В (8+0,25) мм максимального хода поплавка следует регулировать подгибанием упора 3. Оттяжная вилка 6 иглы клапана не должна препятствовать свободному перемещению поплавка.

При установке крышки карбюратора проверить, не задевает ли поплавок за стенки поплавковой камеры.

Примечание. Проверять установку поплавка следует всегда при замене поплавка или игольчатого клапана; в последнем случае необходимо заменить также уплотнительную прокладку клапана.

Установка карбюраторов производится в обратном порядке.

Регулировка привода карбюратора

Рис. 2-73. Привод управления карбюратором: 1 - рычаг педали акселератора; 2 - подшипники; 3 - корпус шарнира привода акселератора автомобиля мод. 2141; 4 - трос привода акселератора автомобиля с двигателем ВАЗ; 5 - фиксатор; 6 - упор оболочки троса; 7 - демпфер упора оболочки троса; 8 - оболочка троса привода акселератора; 9 - трос привода акселератора автомобилей с двигателем УЗАМ; 10 - трос привода воздушной заслонки; 11 - фиксатор ручки воздушной заслонки; 12 - ручка привода воздушной заслонки

При полностью нажатом рычаге 1 (рис. 2-73) педали акселератора дроссельная заслонка первичной камеры должна быть полностью открыта и рычаг дроссельной заслонки не должен иметь дополнительный ход. При отпущенном рычаге педали акселератора дроссельная заслонка должна быть полностью закрыта. Если этого нет, то положение рычага педали акселератора и дроссельной заслонки можно отрегулировать изменением положения упора 6 оболочки троса акселератора относительно кронштейна упора оболочки троса, для чего необходимо сделать следующее:

- удалить фиксатор 5 из паза упора оболочки троса;

- переместить упор 6 оболочки троса в демпфере 7, закрепленном в отверстии кронштейна 14 (см. рис. 2-4) упора оболочки троса. В паз упора 6 (см. рис. 2-73), ближайший к кронштейну со стороны, удаленной от карбюратора, вставить фиксатор.

Регулировка системы холостого хода карбюратора на минимальную частоту вращения коленчатого вала двигателя и содержание окиси углерода в отработавших газах

Перед регулировкой системы холостого хода следует проверить исправность системы выпуска автомобиля, правильность регулировки клапанного механизма и установки начального угла опережения зажигания.

Установить сезонный регулятор подачи воздуха в положение для забора воздуха летом, прогреть двигатель до температуры охлаждающей жидкости 60-80°C и полностью открыть воздушную заслонку.

Предупреждение. Дроссельные заслонки карбюратора должны быть полностью закрыты. Минимальный зазор между дроссельными заслонками и корпусом дроссельных заслонок, необходимый для исключения заедания заслонок, устанавливается на предприятии-изготовителе карбюраторов винтами упора по перетечке воздуха с использованием высокоточных приборов. Поэтому запрещается вращать винты упора дроссельных заслонок, так как это неминуемо приведет к разрегулировке систем карбюратора и выходу его из строя.

Присоединить к двигателю тахометр и установить пробоотборное устройство газоанализатора в выпускную трубу автомобиля.

На работающем двигателе (не меняя положения винта качества) вращением винта 1 (рис. 2-74) количества установить частоту вращения коленчатого вала двигателя в пределах 850-900 мин-1.

Рис. 2-74. Регулировочные винты системы холостого хода карбюратора 2141-1107010: 1 - винт количества смеси, закрытый ограничительной втулкой; 2 - винт качества смеси, закрытый ограничительной втулкой

Примечание. Поворот винта 1 по часовой стрелке ведет к уменьшению частоты вращения.

Винтом 2 качества установить содержание окиси углерода в отработавших газах в пределах 0,8-1,3%.

Примечание. Поворот винта 2 по часовой стрелке ведет к уменьшению содержания окиси углерода в отработавших газах.

Корректируя регулировку карбюратора винтами количества и качества, обеспечить устойчивую работу двигателя на холостом ходу при частоте вращения коленчатого вала 850-900 мин-1 и содержание углерода в отработавших газах не более 1,5%.

Установить ограничительные втулки красного цвета на винты количества и качества смеси, как показано на рис. 2-75.

Рис. 2-75. Установка ограничительной втулки на регулировочный винт: 1 - упор в отверстии; 2 - упор на ограничительной втулке

Воздушный фильтр

Воздушный фильтр выполнен из бумажного элемента и расположен в пластмассовом корпусе. Для замены фильтрующего элемента необходимо открыть три замка 4 крепления крышки 1 к корпусу воздушного фильтра и вынуть фильтрующий элемент 2.

Удалить сжатым воздухом пыль, скопившуюся в демпфирующей полости корпуса воздушного фильтра.

Установить в корпус воздушного фильтра новый фильтрующий элемент, закрыть крышку и зафиксировать ее замками.